换热器简图

板式换热器
图片尺寸1774x1168
换热器图
图片尺寸3576x2526
图文并茂讲解换热器
图片尺寸693x394
列管式换热器
图片尺寸800x600
列管式换热器cad图
图片尺寸1597x1011
图2-56 螺旋板式换热器
图片尺寸1028x753
换热器的机械设计ppt
图片尺寸1080x810
换热均匀的列管式换热器的制作方法
图片尺寸1000x705
列管热换器设计注意冷热流体流动通道的选择在列管式换热器内,冷热
图片尺寸750x460
螺旋板换热器结构简图.zip
图片尺寸2338x1653
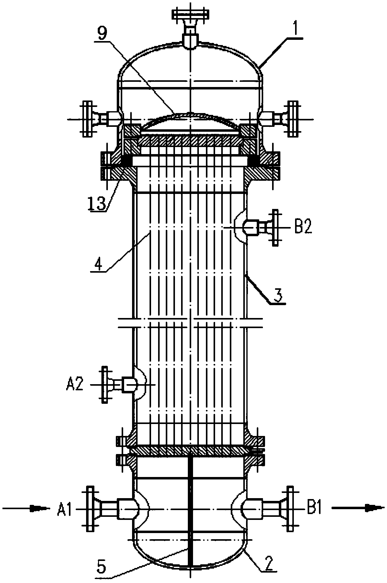
换热系统及其列管式换热器技术方案
图片尺寸477x1000
螺旋板换热器简介
图片尺寸487x633
列管式换热器结构图
图片尺寸931x561
一种u型管换热器的制作方法
图片尺寸1000x502
cn2069547u_一种高效换热器失效
图片尺寸1632x2250
擎立收集13种常见换热器示意图及gif动画示意
图片尺寸515x444
科诚供应 hrv-01/02-xmh/s 半容积式换热器
图片尺寸1220x606
cn2259607y_螺旋板式换热器失效
图片尺寸1824x1888
一种蓄热相变换热器及促进糖醇相变材料结晶和减小过冷度的方法
图片尺寸1337x1038
一种高效双程换热器
图片尺寸1263x1903