排架柱设计

排架柱怎么建模
图片尺寸719x705
柱模板选型技术方案
图片尺寸1860x2631
单层工业厂房排架结构详解 🏭
图片尺寸1080x794
课程设计
图片尺寸1920x1080
排架|建筑加固设计改造工程领航者
图片尺寸514x340
排架柱设计ppt课件
图片尺寸920x690
排架柱图集
图片尺寸887x1920
说设计24款柱子的艺术化处理方式
图片尺寸1080x1619
🏠自建房构造柱的秘密🔍 🧱在自建房的结构设计中,构造柱可是个
图片尺寸1234x1671
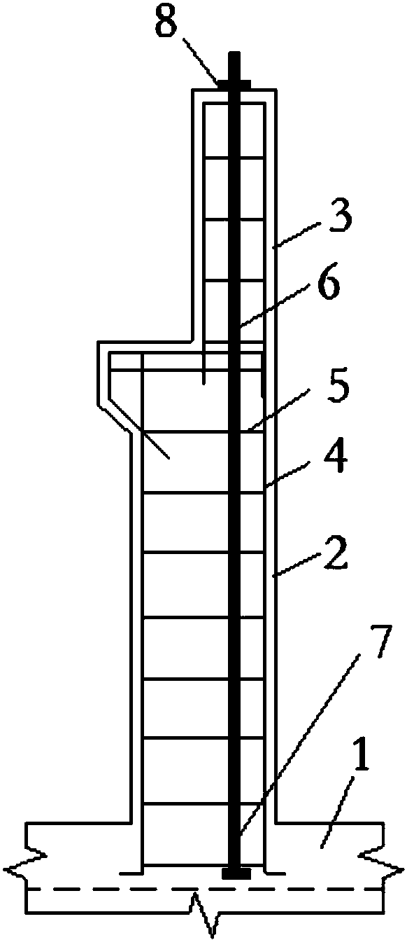
一种预应力混凝土排架柱及施工方法
图片尺寸582x1342
🏛️古典柱式全解析📖
图片尺寸1080x1409
一层混凝土排架柱轻钢厂房建筑,结构图
图片尺寸300x225
混凝土排架柱抗震设计策略及柱顶牛腿施工细则
图片尺寸1067x800
一种钢筋混凝土装饰构造柱
图片尺寸1965x1777
某公司钢梁排架柱厂房建筑设计施工cad图纸
图片尺寸610x432
其包括定位架,定位架包括两排两两相对设置的立柱,设置在两排立柱相对
图片尺寸2032x2040
厂房排架结构中的柱的有关问题
图片尺寸435x414
单层工业厂房排架结构设计计算书
图片尺寸591x457
砼柱钢梁 排架结构三维钢框架里面建模
图片尺寸720x317
模板排架搭设方案
图片尺寸1253x973