排水槽设计图

一种市政工程用环保型排水槽装置的制作方法
图片尺寸1682x1550
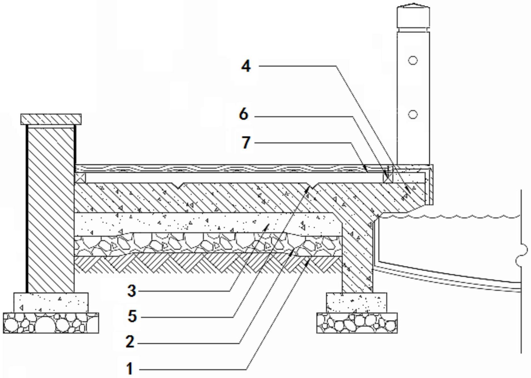
一种防腐木平台排水钢槽
图片尺寸1687x1202
排水管道设计技术分享|看懂避坑.#装修人 #装修 #同城精选 - 抖音
图片尺寸1094x1578
cad平面排水图如何看
图片尺寸1707x1852
五套常用排水沟建筑cad图纸
图片尺寸599x500
什么是同层排水系统hjsj2021
图片尺寸1079x921![[贵州]双向六车道管综排水施工图设计(2020)](https://i.ecywang.com/upload/1/img0.baidu.com/it/u=525335283,3484622708&fm=253&fmt=auto&app=138&f=JPEG?w=760&h=489)
[贵州]双向六车道管综排水施工图设计(2020)
图片尺寸760x489
请问这种散水和排水沟我应该怎么绘制?
图片尺寸1228x804
在墙体开槽:在不影响整体的承重结构时,可以在实体墙上开槽,将排水支
图片尺寸927x665
排水系统布置图
图片尺寸1646x2455
一种水槽的排水结构的制作方法
图片尺寸1000x774
知名企业线性排水沟详图设计
图片尺寸760x474
cad平面排水图如何看
图片尺寸1622x1833
排水槽详图
图片尺寸560x326
cn101831941b_带自动排水,净水系统的水槽有效
图片尺寸2948x1320
求助同层排水的图集是哪一本来着?
图片尺寸3509x2481
水利给水排水工程装置的制造及其处理技术
图片尺寸1000x865
一种新型公路工程用排水槽结构的制作方法
图片尺寸1000x545
某排水沟cad设计图
图片尺寸610x861
排水系统图
图片尺寸813x590