探照灯结构图

一种探照灯的制作方法
图片尺寸845x1000
cn301524475s_遥控探照灯(gad508)有效
图片尺寸1698x2371
一种大功率led探照灯
图片尺寸1651x1250
一种便携式多用途探照灯的制作方法
图片尺寸1000x968
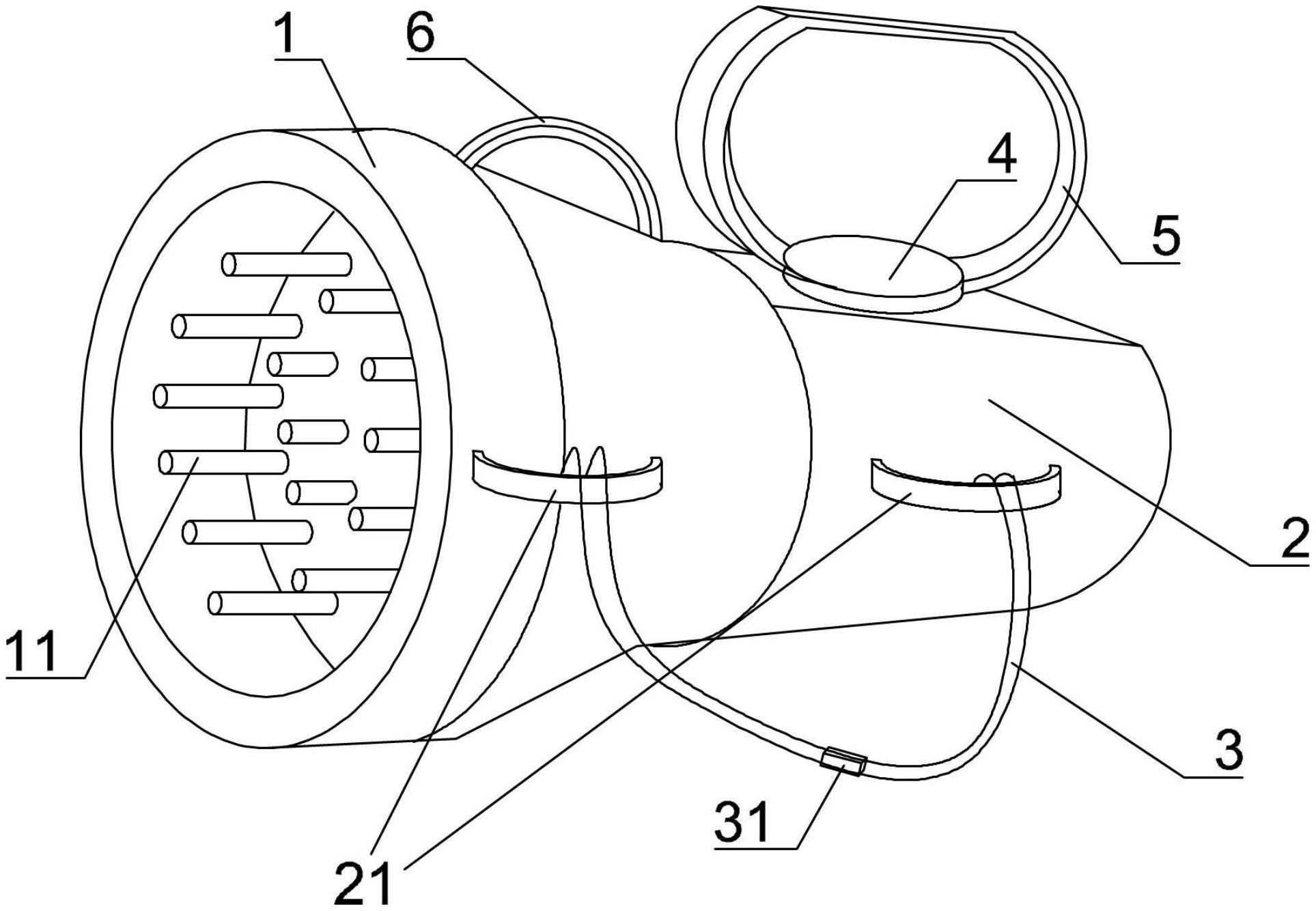
本实用新型公开了一种手提式防爆探照灯,其结构包括框架,透镜,灯珠腔
图片尺寸1056x1382
cn205877911u_一种船用led小型手动探照灯有效
图片尺寸1000x925
一种工地方便佩戴的探照灯
图片尺寸1927x1334
一种苏伊士运河探照灯
图片尺寸641x1000
一种船用探照灯的制作方法
图片尺寸1000x831
一种手提式探照灯的制作方法
图片尺寸845x1000
cn301524475s_遥控探照灯(gad508)有效
图片尺寸1952x2327
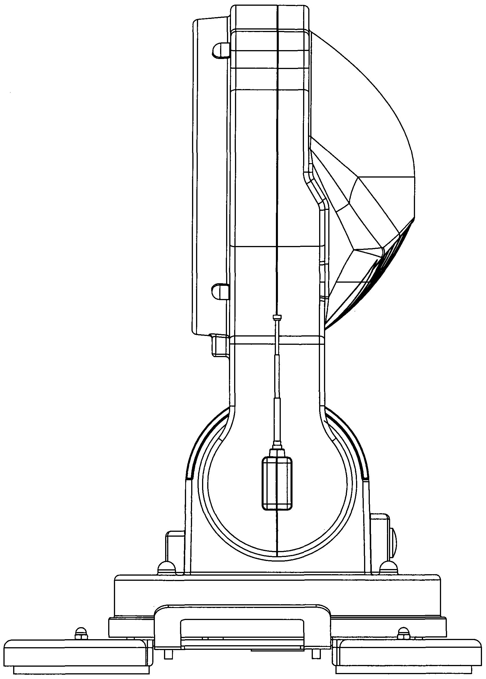
cn104896444a_探照灯及其安装台结构在审
图片尺寸593x1000
本实用新型涉及,特别是指一种结构简单,使用方便的探照灯.
图片尺寸797x986
探照灯制造技术
图片尺寸1000x882
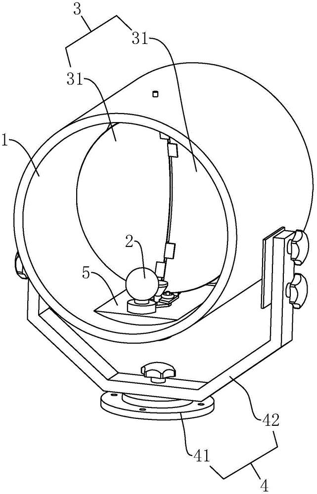
cn102144124a_具有柔韧性附着装置的探照灯失效
图片尺寸1493x2384
强光工程探照灯祖科30wled强光抢险抢修工程探照灯
图片尺寸790x496
远程手提探照灯的制作方法
图片尺寸1000x721
电动探照灯的制作方法
图片尺寸737x1000
其特征在于,所述探照灯包括灯壳,灯和连接结构,所述灯壳包括前盖,灯壳
图片尺寸1682x891
一种多功能探照灯
图片尺寸810x1000