接地摇表接线图

5m线,摇表的e(或c2,p2);20m测试线,摇表的p(或p1)及电压辅助接地
图片尺寸2592x1472
接地摇表测量接地电阻时要求探针保持距离的原因
图片尺寸596x380
地阻测试仪zc29b上海第六电表厂zc-8梅格牌手摇接地检测仪对地表
图片尺寸822x656
不了解摇表不要轻易上手以免被电击
图片尺寸640x441
例如,使用接地电阻测量仪(接地摇表)测量,要有三个接线端,(p,c,e
图片尺寸640x286
接地摇表连接接地摇表使用方法图详解
图片尺寸480x268
定做电工摇表兆欧表500v1000v2500v接地绝缘电阻测试仪
图片尺寸749x429
煤矿接地摇表使用方法
图片尺寸640x451
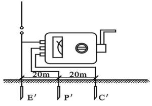
图 接地电阻测量仪的接线
图片尺寸700x272
接地摇表使用方法
图片尺寸636x368
接地摇表正确使用方法图解
图片尺寸543x468
接地摇表
图片尺寸300x210
煤矿接地摇表使用方法
图片尺寸640x541
zc25-3摇表如何测接地电阻?
图片尺寸800x417
2测量小于1Ω接地电阻时接线图见图2
图片尺寸364x306
枫岚情 摇表兆欧表接地电阻仪手摇防雷地阻仪接地电阻摇表测接地电阻
图片尺寸790x914
接地摇表与绝缘摇表的原理与使用
图片尺寸300x248
接地摇表使用方法
图片尺寸526x269
接地摇表使用培训ppt
图片尺寸1080x810
zc29b-2型接地摇表使用方法说明及接地电阻测试标准
图片尺寸301x243