接触消毒池图纸

a3-加氯接触消毒池平面图
图片尺寸643x583
a2-接触消毒池a2-污泥脱水机房图纸参数图纸id: 981915图纸格式:dwg
图片尺寸775x586
本图纸为:接触消毒池cad工艺图(水处理工程); 包含:1-1剖面图,主要
图片尺寸610x861
接触消毒池平剖面图
图片尺寸820x579
接触消毒池
图片尺寸820x579
湖北省某污水厂接触消毒池施工图工艺 结构
图片尺寸1081x406
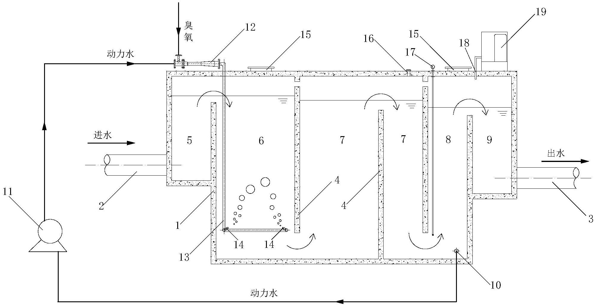
一种臭氧接触池
图片尺寸2001x1033
钢筋混凝土结构接触消毒池图- 环保图纸 - 沐风网
图片尺寸740x510
消毒接触池设计图下载(96.00 kb,dwg格式) 机械cad图纸
图片尺寸619x451
2万吨城市污水厂加氯接触消毒池施工图- 环保图纸 - 沐风网
图片尺寸816x578
a1-接触消毒池平剖面图
图片尺寸820x553
接触消毒池平剖面图
图片尺寸584x457
接触消毒池工艺图一
图片尺寸718x509
某污水处理厂aao工艺接触消毒池平面剖面- 环保图纸 - 沐风网
图片尺寸806x587
接触消毒池cad图纸
图片尺寸609x435
接触消毒池平剖面图
图片尺寸820x580
接触消毒池段
图片尺寸364x253
接触消毒池工艺图水处理
图片尺寸610x432
钢筋混凝土结构接触消毒池结构施工图纸
图片尺寸922x654
某公司设计污水处理厂紫外线消毒池图纸
图片尺寸1440x1020