控释片结构

拜新同是双室渗透泵控释制剂,它的结构有点像一个三明治或者说汉堡包
图片尺寸600x410
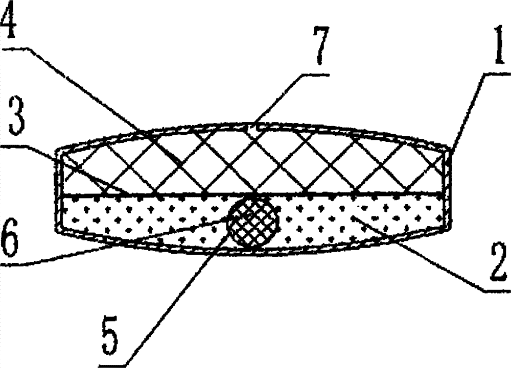
硝苯地平控释片
图片尺寸481x398
格列吡嗪控释片
图片尺寸501x175
cn203724483u_一种胃滞留型渗透泵控释片失效
图片尺寸1000x721
图3 琥珀酸美托洛尔缓释片结构示意图3,特殊人群,您该怎么办?
图片尺寸1000x760
拜新同 硝苯地平控释片 30mg*7片 2盒【图片 价格 品牌 报价】-京东
图片尺寸1032x1486
欣然 硝苯地平控释片 30mg*7片/盒 5盒装【图片 价格 品牌 报价】
图片尺寸800x800
拜新同硝苯地平控释片30mg7片盒高血压冠心病心绞痛5盒
图片尺寸790x960
青岛骄傲青岛市高新技术企业百洋制药自主研发的高端制剂硝苯地平控释
图片尺寸1281x746
渗透泵控释片剂型示意图
图片尺寸500x261
硝苯地平控释片临床建议
图片尺寸893x580
国内首家北京红林制药两款控释片通过仿制药一致性评价
图片尺寸766x275
220723-一些集采中标的硝苯地平控释片
图片尺寸3456x2160
渗透泵型的缓控释制剂结构像一个灌汤包,"包子馅"药物芯被"包子皮"半
图片尺寸720x406
拜新同adalatgits硝苯地平控释片30mg7片盒高血压冠心病1盒装
图片尺寸982x1458
乐透福格列吡嗪控释片5mg14片盒2型糖尿病1盒装
图片尺寸790x1009
但是如果把缓释片和控释片掰开服用的话,这些独特的制剂结构就遭到了
图片尺寸828x621
盐酸哌甲酯控释片
图片尺寸920x1302
3)部分缓释片制剂工艺中包含微囊结构和某些骨架片结构,是能掰开服用
图片尺寸1132x425
渗透泵型缓控释制剂按结构特点可分为单层,双层和多层渗透泵制剂,双层
图片尺寸644x453