控鱼器图纸

一种控鱼器的制作方法
图片尺寸764x1000
一种控鱼器
图片尺寸1719x929
一种控鱼器
图片尺寸781x1000
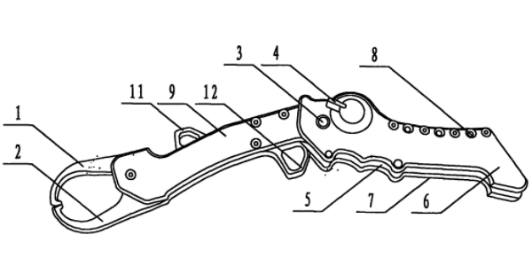
cn201563515u_一种折叠式控鱼器失效
图片尺寸2144x840
一种新型控鱼器控鱼结构的制作方法
图片尺寸1000x561
diy控鱼器图纸
图片尺寸600x415
折叠控鱼器-机械设备图纸-沐风网
图片尺寸433x220
控鱼器怎么用
图片尺寸600x300
多功能控鱼器不锈钢控鱼钳路亚钳抓鱼器夹鱼器渔具枪柄控鱼器新款
图片尺寸750x750
带尺带称型控鱼器 不锈钢夹鱼器 双扣控鱼钳 钓鱼用品厂家批发
图片尺寸1920x1920
新款钓武者控鱼器gamakatsu偏光镜
图片尺寸1080x1439
折叠控鱼器-机械设备图纸-沐风网
图片尺寸424x220
禧玛诺控鱼器路亚shimnao302301t带称控鱼枪夹鱼钓鱼控鱼夹控鱼钳银色
图片尺寸750x964
垂钓控鱼器!不锈钢 铝合金材质的控鱼器,带有登山扣 - 抖音
图片尺寸800x800
这个控鱼器真的太好用了!不仅可以控制鱼的大小,还可以称重,防 - 抖音
图片尺寸1000x1000
敬请期待成品的到来,控鱼器
图片尺寸700x1507
控鱼器开光不能白买管他大小都得夹一下
图片尺寸1080x1080
瓜子亮片钓组77德州钓组图7:微物手抄77前导图8:控鱼
图片尺寸1080x1080
控鱼器上的鱼腥味是我的精神鸦片
图片尺寸864x1920
纠结了几个月才舍得买的控鱼器,看着到手的控鱼器却高兴不起来, - 抖
图片尺寸1440x1920