推力轴承镜板

推力头与镜板
图片尺寸460x640
径向瓦水轮机轴瓦镜板,专业配置电厂询yoyik
图片尺寸1057x731
推力瓦镜板的加工技术和过程
图片尺寸1200x900
推力轴承
图片尺寸900x671
镜板加工
图片尺寸522x406
推力轴承
图片尺寸400x350
推力球轴承
图片尺寸6016x4000
amgt推力滚子轴承29426em2942829430294322943429436推力滚子轴承
图片尺寸2000x2000
29422 e 球面滚子推力轴承
图片尺寸800x800
hot selling original machine brass cage thrust bal
图片尺寸3456x2304
除整套推力轴承外,可单独定制推力瓦,轴瓦,挡板等等机加工产品.
图片尺寸595x463
推力圆柱滚子轴承
图片尺寸712x560
推力圆锥滚子轴承
图片尺寸4128x2322
高品质 81122 球面滚子推力轴承
图片尺寸2000x1500
推力球轴承
图片尺寸600x462
不锈钢推力球轴承 51103 51104 51105
图片尺寸4928x3264
哈尔滨平面推力圆柱滚子轴承9214921592169217推力滚子轴承
图片尺寸800x800
角接触推力球轴承
图片尺寸600x600
t441 圆柱滚子推力轴承 t441f rt4411 2rt4416
图片尺寸1000x667
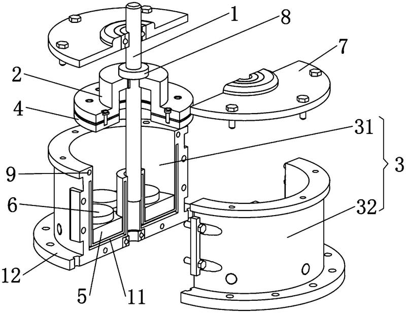
主轴与推力头通过花键连接,推力头的下表面通过螺栓固定连接有镜板,第
图片尺寸800x617