推拉式开关结构图

推拉直键按键伸缩开关 自锁直键油烟机电源按键开关 带安装孔开关
图片尺寸220x220
一种根据环境因素自动开关的智能导轨式推拉窗
图片尺寸701x1000
家用墙壁开关完整结构模型分享
图片尺寸820x611
汽车推拉开关101
图片尺寸1024x781
推拉直键按键伸缩开关自锁直键电视机电源按键开关pc脚开关
图片尺寸400x400
调速开关(推拉式)
图片尺寸888x828
热卖汽车农用车通用型改装单档 开关 推拉式档灯开关jk106开关配件
图片尺寸750x679
新型推拉式开关
图片尺寸1464x895
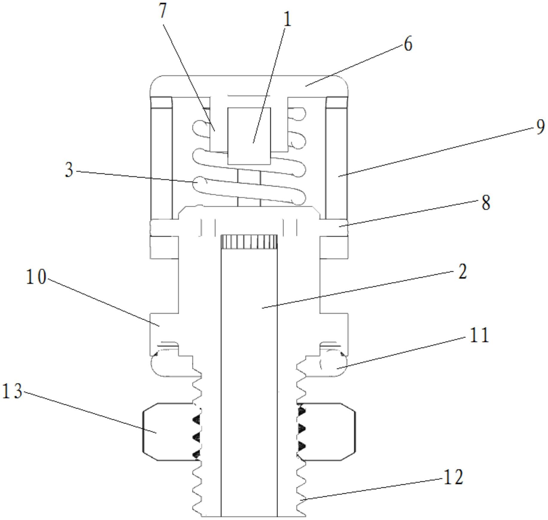
一种用于推拉式抽屉的推进合闸联锁机构的制作方法
图片尺寸892x1000
banana配件零件阁下推拉蜂巢开关
图片尺寸750x750
典型拨动开关的结构图
图片尺寸263x131
按钮开关推拉开关 pbs-11a 系列开关
图片尺寸700x268
接触式开关 按压开关 旋钮开关 接线开关 闸刀开关 推拉开关 非接触式
图片尺寸1440x810
推拉式急停开关
图片尺寸300x300
汽车档灯开关推拉式单档双档三档农用车工程机械车灯光改装用开关 单
图片尺寸750x648
拨动开关内部结构图/拨动开关电路结构图/拨动开关电路示意图/拨动
图片尺寸768x551
气缸控制开关推拉式气阀4r31010气动手动板机械3r手拉阀4r21008
图片尺寸750x1098
推动直键按键伸缩开关按键开关拨动式推拉防水拨动开关厂家供应
图片尺寸800x800
小型按动开关设计图
图片尺寸581x328
厂家直销:吹风机滑动开关 推拉直发器开关 ss-1305a拨动开关
图片尺寸750x750