推流器结构图

潜水推流器结构图
图片尺寸901x463
南京潜水推流器,水下推荐器,低速推流器建成厂家***
图片尺寸2016x952
循环池除磷脱氮水处理潜水推流器
图片尺寸535x298
qjb3/4 潜水推流器
图片尺寸548x809
潜水低速推流器qjb2.2/4-1100/2-79
图片尺寸3300x2550
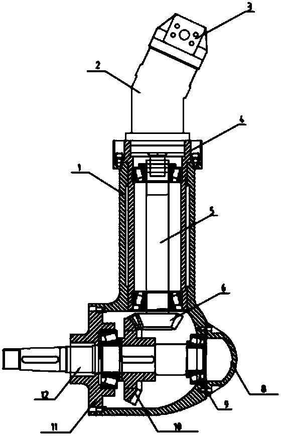
推流器结构
图片尺寸1003x668
上海潜水推流器 博源氧化沟潜水推流器 qjb2.2/4-1400铸铁推进器
图片尺寸600x383
活塞式恒隙电力液压推动器
图片尺寸800x1184
cn101456631a_一种电机直联式摆线星轮潜水推流器有效
图片尺寸2329x2716
潜水搅拌推流器
图片尺寸675x449
单推杆电力液压推动器结构图
图片尺寸440x530
cn2178304y_电力液压推动器失效
图片尺寸800x1228
外形结构示意图:潜水推流器选型时,浆叶直径超过2m,建议使用齿轮箱
图片尺寸612x362
悬挂式水下推流器结构及安装示意图(3)选型请参考流场图.
图片尺寸651x726
【潜水推流器供应厂家】南京澳特蓝qjb型潜水推流器
图片尺寸600x384
qjb潜水推流器
图片尺寸850x633
搅拌池低速潜水推流器
图片尺寸734x451
also艾索污水处理厂低速推流器絮凝池潜水推流器反硝化池潜水推流器
图片尺寸780x473
潜水推流器
图片尺寸582x414
一种新型渔船用侧推器
图片尺寸562x871