提升阀分解图

结构参数对提升阀性能的影响
图片尺寸1819x1344
cn212338190u_一种不易内漏的锅炉蒸汽吹灰器提升阀有效
图片尺寸1825x1587
一种新型蓄热式热力焚烧炉提升阀
图片尺寸1554x1168
布袋除尘器双层密封提升阀生产图
图片尺寸706x506
cn110397787a_双向旋转动压密封的管道节流抗冲击提升阀装置有效
图片尺寸766x1000
双向旋转动压密封的管道节流抗冲击提升阀装置的制作方法
图片尺寸766x1000
一种不易内漏的锅炉蒸汽吹灰器提升阀的制作方法
图片尺寸1000x869
一种提升阀的制作方法
图片尺寸363x508
一种布袋除尘器提升阀
图片尺寸1496x2256
cn207229768u_提升阀有效
图片尺寸1450x1189
上栗rto提升阀
图片尺寸1280x720
一种燃气开关阀提升装置制造方法及图纸
图片尺寸394x530
一种蒸汽吹灰器提升阀的制作方法
图片尺寸443x310
一种用于提高rto密封性的提升阀装置
图片尺寸1346x1769
空心提升阀的制造方法
图片尺寸1930x2697
一种除尘器提升阀装置
图片尺寸1000x978
废气治理装置高效密封提升阀的制作方法
图片尺寸1000x932
一种布袋除尘器提升阀的制作方法
图片尺寸598x1000
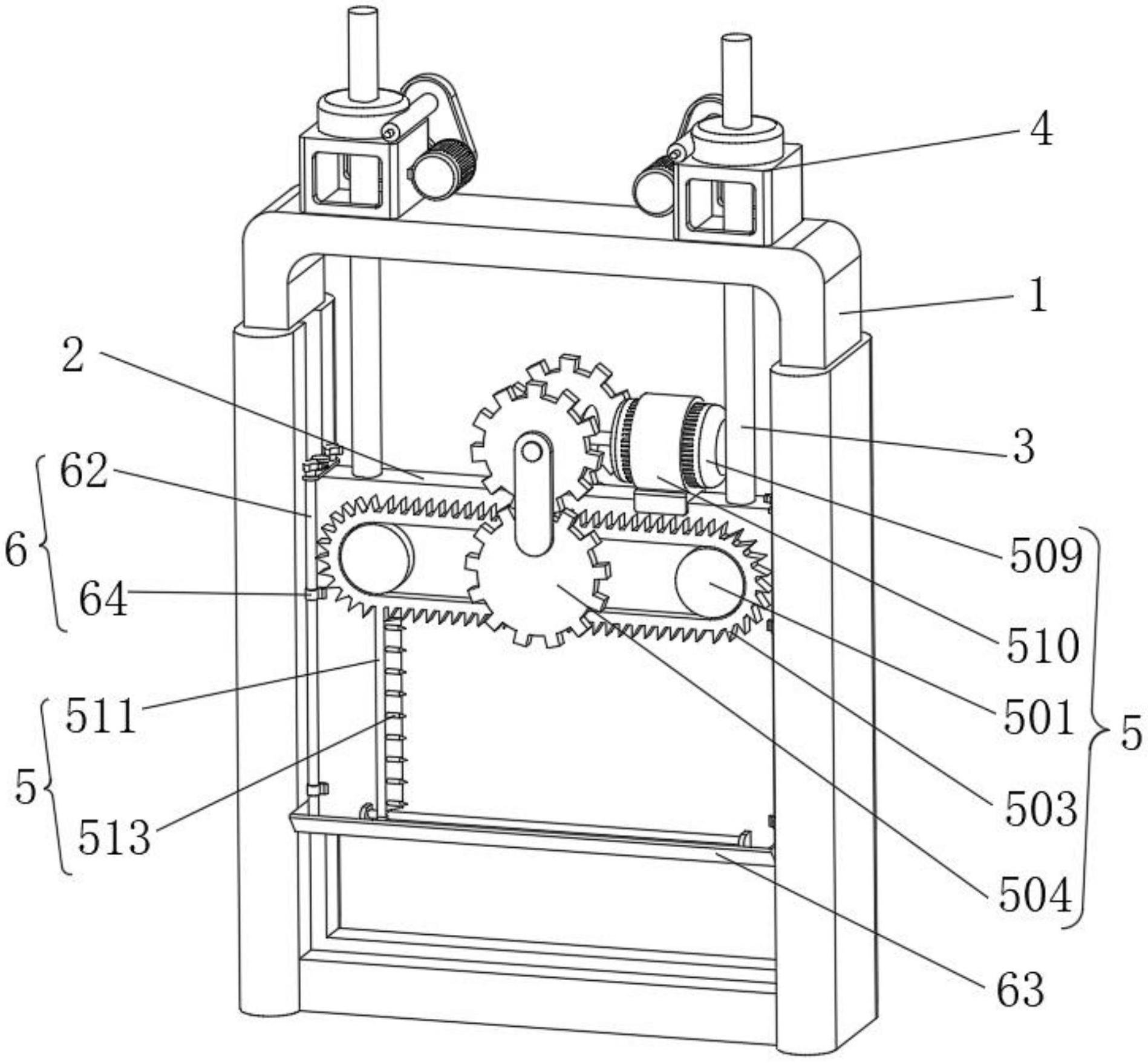
cn213086735u_一种水利水电闸门提升装置
图片尺寸1898x1758
cn110613993a_一种袋式除尘器提升阀的智能故障判断方法在审
图片尺寸869x1000