提手结构

cn211204624u_一种车载冰箱用提手结构有效
图片尺寸846x1000
cn208227220u_多功能的音箱提手结构有效
图片尺寸1715x1700
一种饮水机水桶的正反馈夹紧式提手的制作方法
图片尺寸1000x760
304不锈钢旋转紧迫式密封涂装设备把手冷库拉手电柜机械
图片尺寸750x666
【提手,把手,自动回弹提手,顶部提手】价格,批发
图片尺寸544x378
除湿器水桶提手结构-爱企查
图片尺寸1349x1417
本实用新型提供一种板料搬运提手,包括顶板,支板
图片尺寸1611x2274
多功能的音箱提手结构的制作方法
图片尺寸1000x991
cn206156001u_一种收纳箱的提手结构失效
图片尺寸1000x386
一种可轴向浮动的旋转提手结构-爱企查
图片尺寸936x1216
一种伞座活动提手制造技术
图片尺寸1000x678
杯盖的提手安装结构
图片尺寸1334x969
背景技术:提手又称为拎手,手提,拉手等,是生活中
图片尺寸1000x736
一种炒菜锅的提手结构制造技术
图片尺寸561x1000
u,名称为"一种食用油pet瓶提环"的中国专利公开了一种提环结构,该提环
图片尺寸564x385
提手结构及电子设备-爱企查
图片尺寸1781x1691
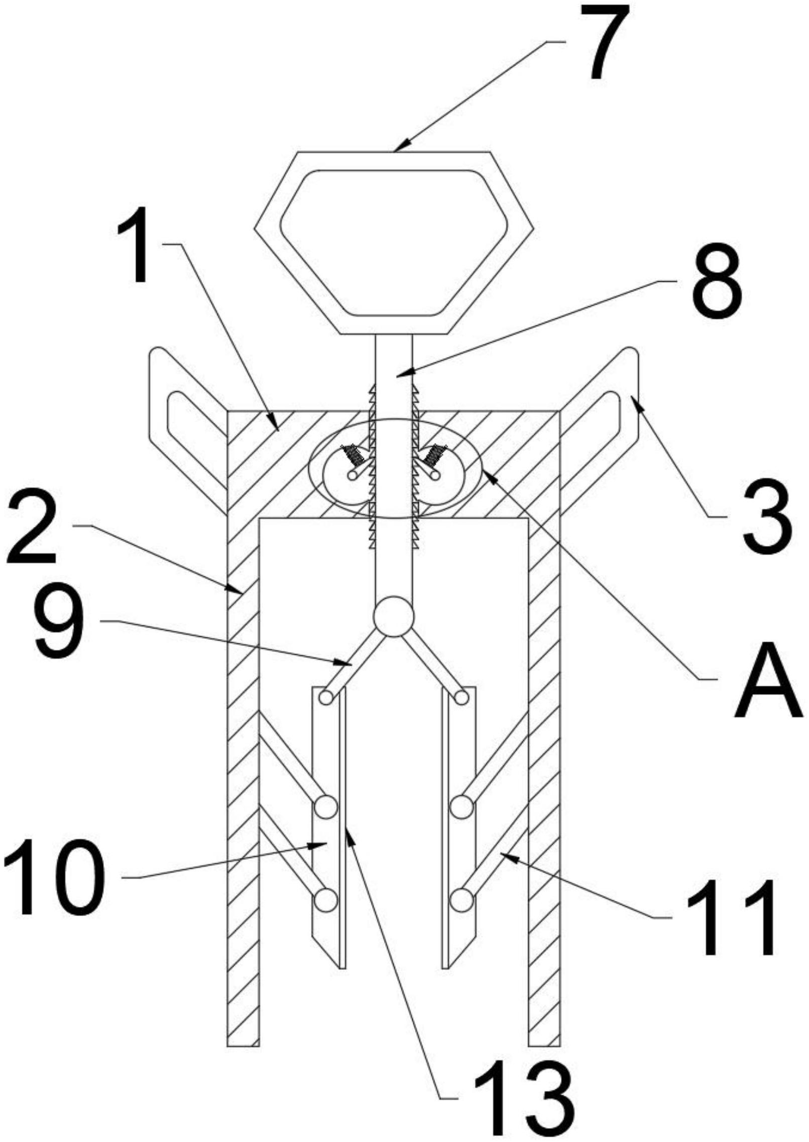
本技术所要解决的技术问题是提供一种搬运用提手,该装置结构简单
图片尺寸970x1000
背景技术:现在的提手跟箱体之间,要么提手直接被锁
图片尺寸1000x762
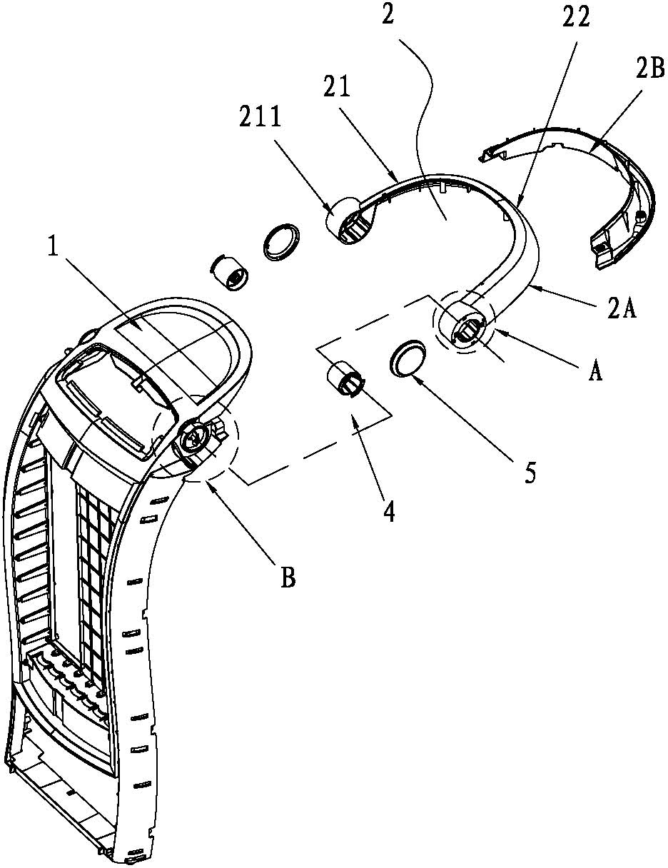
一种提手装配结构的制作方法
图片尺寸1000x745
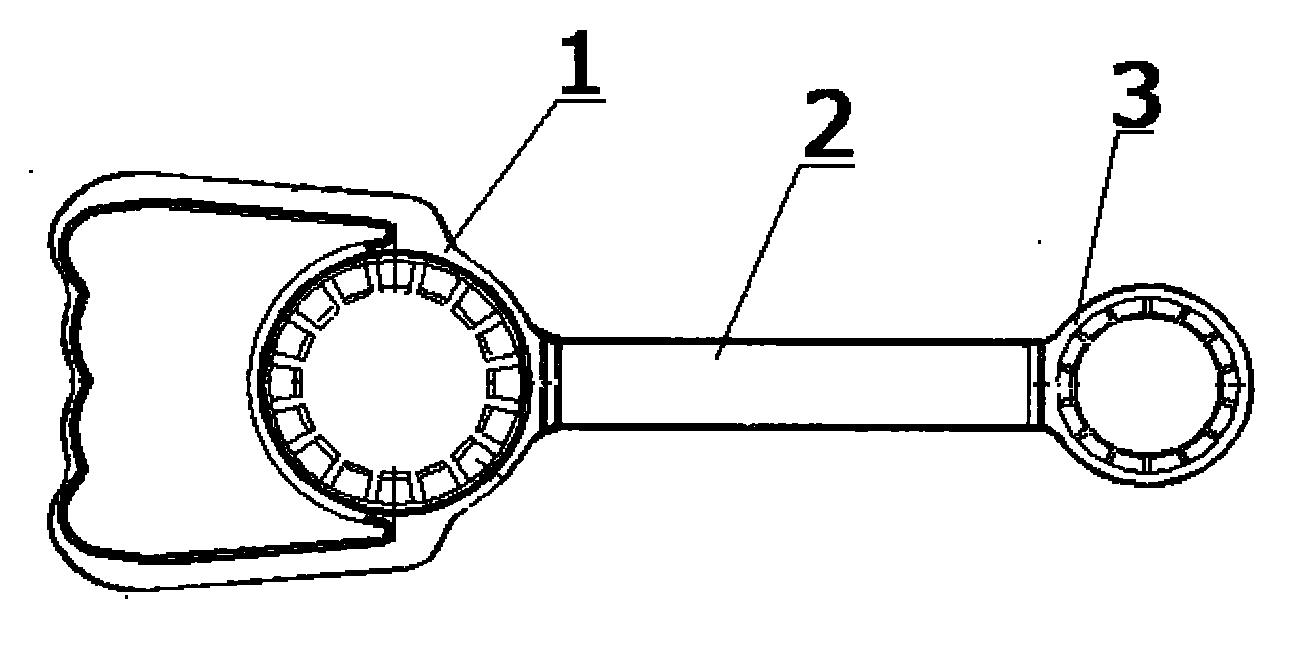
所述连接体的另一端设有子环,与现有技术相比,本实用新型具有结构简单
图片尺寸1308x645