提花机组件

鑫洋厂家直发 电子提花机组件配件m5纺织机械组件轴承滑轮绳带轴0
图片尺寸1920x1898
提花机组件
图片尺寸300x300
专业供应电子提花机m5轴承组件三工位地毯机专用质保二年
图片尺寸750x827
厂家直销电子提花机电脑织带机组件带轴承电磁阀滑轮组配件特价
图片尺寸400x400
范德威尔地毯机组件电子提花机提花组件m4m5m6组件华宝m4.
图片尺寸800x800
k88范美特宋和宋五木提花机龙头配件 超诚奔联m4m5m6组件原装配套
图片尺寸800x800
电子提花机的控制系统原理-公司新闻-江阴市鑫富精密机械有限公司
图片尺寸1058x906
g516-2688 高速电子提花机
图片尺寸450x513
hdc双面电脑提花机
图片尺寸780x827
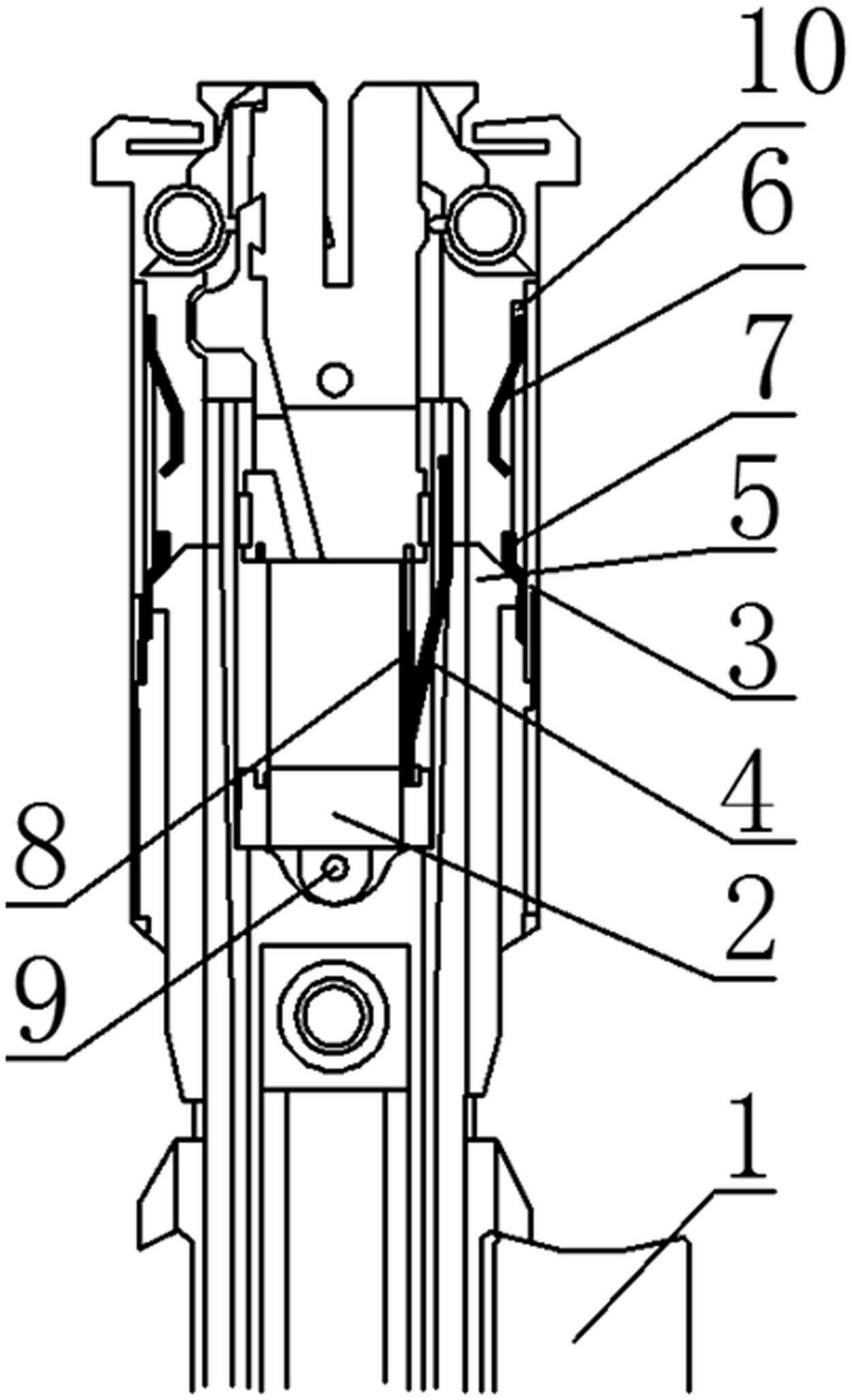
一种提花机组件装置-爱企查
图片尺寸1250x2053
一种提花机组件装置-爱企查
图片尺寸1627x650
高速编织机 提花机配件系列 提供花边机配件
图片尺寸895x1024
电子提花机zjgls-传动部分
图片尺寸429x285
k88 宋和宋五木提花机龙头配件 超诚滑轮勾线m5组件史陶必尔原装
图片尺寸758x758
双面电脑提花针织机
图片尺寸599x399
振动螺旋提升输送机-真空上料机-上海师锐机械设备
图片尺寸980x980
48针 边字 布边电子提花机 提字 提标 提花 电子龙头 开口装置
图片尺寸819x1024
电脑提花机favs8-35-192电脑无梭窄幅提花织带机德胜精机厂家直销
图片尺寸960x960
专业供应电子提花机m5轴承组件三工位地毯机专用质保二年
图片尺寸400x400
供应新型割圈电脑提花机
图片尺寸1919x1193