插床维修装配图

简易插床及液压系统设计三维图
图片尺寸1500x1100
厂家批发插床 高精度插床 原抚顺机床图纸 b5032插床 品质保证
图片尺寸400x450
插床导杆机构
图片尺寸320x329
cn2827595y_键槽插床失效
图片尺寸1185x2336
插削和插床
图片尺寸296x306
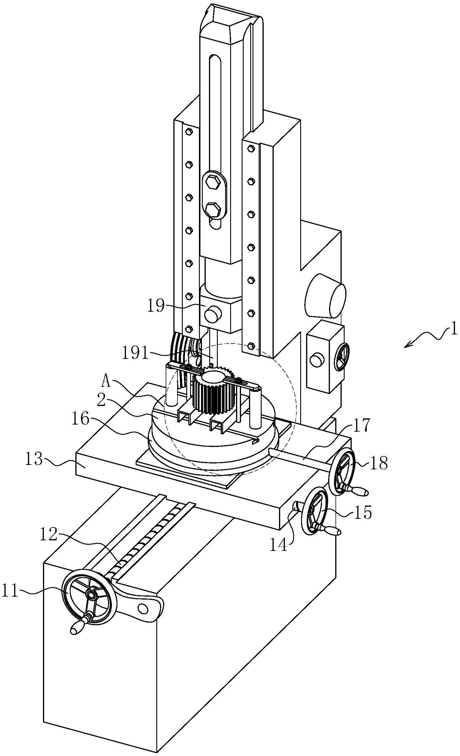
cn213560160u_减速机零件加工用插床有效
图片尺寸1563x2566
简易插床及液压系统设计三维图
图片尺寸1500x1100
cn207655979u_防滑动磨纹插刀架式插床有效
图片尺寸1000x890
机械原理课程设计论文模板-插床
图片尺寸606x534
一种新型机械加工用插床的制作方法
图片尺寸832x1000
刨削类机床插床简介
图片尺寸295x371
机械原理课程设计—插床机构说明书
图片尺寸1222x1725
河南理工大学机械原理插床机构课程设计
图片尺寸441x325
结构紧凑,重量轻,安装维修方便,因此,经常被用来作为一个可普通插床插
图片尺寸697x499
简易插床及液压系统设计(含cad零件装配图,solidworks三维图)
图片尺寸696x524
机械原理课程设计插床. 要求如下图,数据要机l144.位置是23和12.
图片尺寸390x526
机械原理插床设计大作业
图片尺寸890x480
插床机构
图片尺寸556x252
简易插床机构
图片尺寸676x445
1,插床传动系统机构设计
图片尺寸951x1345