插秧机传动示意图

cn2805337y_四行行走式水稻插秧机失效
图片尺寸2000x1078
proe机动插秧机曲柄摇杆式分插机构运动轨迹毕业设计
图片尺寸496x492
二,水稻插秧机的组成 发动机 操控机构 秧箱 传动机构 前轮 秧船 行走
图片尺寸1080x810
水稻插秧机螺旋搅龙式侧深施肥装置整体设计
图片尺寸1530x1556
插秧机
图片尺寸1417x1007
cn1713812a_插秧机有效
图片尺寸1417x1007
cn101990804a_宽窄行水稻插秧机齿轮传动分插机构失效
图片尺寸2092x2088
cn1099925a_摆臂式插秧机失效
图片尺寸2592x1780
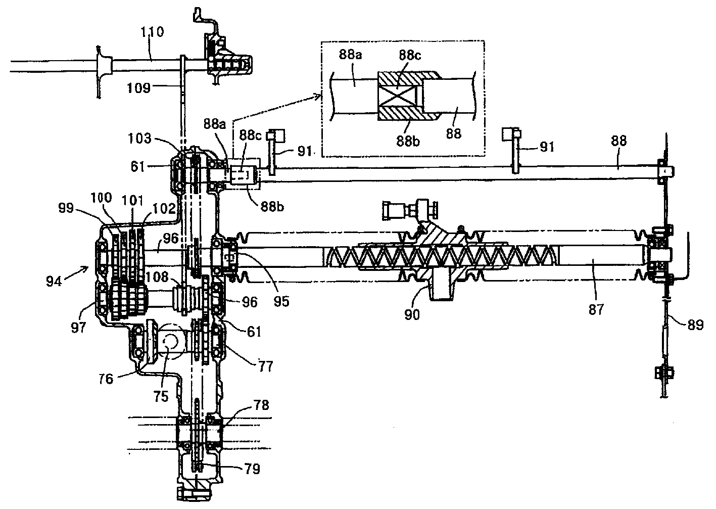
变速箱,所述行走部件包括驱动轮传动机构,驱动轮,所述插秧部件包括
图片尺寸1000x556
手扶插秧机传动部分设计
图片尺寸705x484
cn101773013a_手动式小型插秧机失效
图片尺寸1606x1153
插秧工作部分的传动箱里装有动力输入轴,送秧输出轴,分插秧输出轴
图片尺寸2208x1600
机动两行插秧机的制作方法
图片尺寸545x282
cn100409736c_步行式插秧机的差速传动分插机构失效
图片尺寸2000x1192
步行式插秧机制造技术
图片尺寸632x1000
cn102132645a_步行式插秧机斜齿行星轮系宽窄行分插机构失效
图片尺寸1199x1151
cn111886978a_一种用于水稻插秧机的同步转盘式侧深施肥机
图片尺寸1699x1348
cn209330584u_一种简易水稻插秧机
图片尺寸1000x607
一种手扶式插秧机制造技术
图片尺寸1000x500
cn101933421a_斜齿轮传动宽窄行插秧机分插机构失效
图片尺寸1397x1478