插苗机图纸

背景技术:水稻插秧机是将水稻苗定植在水田中的种植机械.
图片尺寸545x282
插秧机的制作方法
图片尺寸1000x980
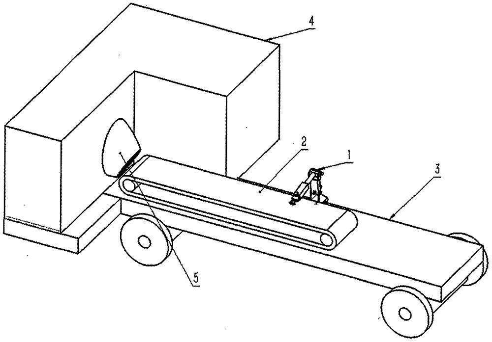
一种食用藻类插苗机的制作方法
图片尺寸372x444
背景技术:插秧机是将稻苗植入稻田中的一种农业机械,进行种植时,首先
图片尺寸1000x698
旱地用插苗机的制作方法
图片尺寸444x338
插秧机系统设计【含cad图纸 pdf图】
图片尺寸1200x800
插秧机图纸
图片尺寸1484x607
插秧机cad图纸
图片尺寸1600x866
cn110521356a_马铃薯脱毒苗自动分插苗机在审
图片尺寸1000x697
一种耕地插苗浇水施肥隆埂全自动化一体机-爱企查
图片尺寸1774x773
插秧设备,其用于水田,而针对旱田等土地插秧,栽苗的机械设备就比较少
图片尺寸1000x753
高速插秧机自动送苗装置及其实现方法与流程
图片尺寸1000x606
插苗装置
图片尺寸444x356
cn207754071u_一种钵苗插植器以及植物移栽机失效
图片尺寸1000x727
插秧机ug图 - 农业机械图纸 - 沐风网
图片尺寸820x485
自动插秧机设备 - 农业机械图纸 - 沐风网
图片尺寸781x597
usb全自动插端机 - 电子产品制造设备图纸 - 沐风网
图片尺寸919x499
转盘式半自动插苗机三维图纸合集的封面图
图片尺寸285x236
设计【植树苗挖坑机移栽机】【全套设计含sw三维3d建模及7张cad图纸】
图片尺寸1200x800
鸭嘴移栽机 - 农业机械图纸 - 沐风网
图片尺寸300x225