插装阀结构

插装阀的结构及原理
图片尺寸553x600
派克汉尼汾螺纹插装阀新产品和新应用的展示下
图片尺寸1080x852
意大利atos阿托斯插装阀使用原理
图片尺寸741x558
插装阀基本工作原理
图片尺寸920x690
螺纹插装式溢流阀结构探讨
图片尺寸927x630
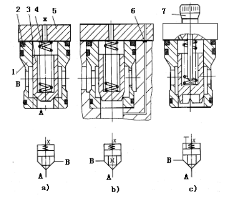
大兰液压插装阀结构原理及符号
图片尺寸374x261
b型气动插板阀
图片尺寸800x1091
最新插装式手动比例先导阀结构图
图片尺寸2339x1654
维嘉mro百科:插装阀-压力阀功能
图片尺寸1268x1258
鸿钛裁断机技术之插装阀的组成和工作原理
图片尺寸274x273
执行机构 o 插装阀的结构及图形符号如图所示.
图片尺寸300x222
液压系统培训内容:插装阀的组成和基本结构
图片尺寸1699x757
插装阀的结构原理及基本组件
图片尺寸480x406
插装阀的介绍与应用doc
图片尺寸920x1303
插装阀原理图
图片尺寸920x1302
lmd手动圆形插板阀
图片尺寸600x637
供应lc,lfa二通插装阀(力士乐系列)
图片尺寸944x546
全封闭双向密封插板阀
图片尺寸1867x2612
插装阀工作原理ppt
图片尺寸1080x810
常州凯润 不锈钢304方形手动单插板阀 z71h(y)-10c,dn250
图片尺寸343x463