握住车把手简笔画

各种交通工具简笔画 汽车简笔画 儿童简笔画 汽车简笔画 儿童画 绘画
图片尺寸1710x1280
新浪汽车
图片尺寸600x411
两个手握住简笔画
图片尺寸500x425
小汽车简笔画 小汽车简笔画儿童画08
图片尺寸905x1280
吸尘清扫车把手
图片尺寸1590x1054
奔驰汽车简笔画/汽车素材/创意美术/儿童画 汽车的简笔线描稿,颜色
图片尺寸1921x1280
然后画上两个矩形的车把手,最后再涂上颜色,这样,汽车简笔画就完成了
图片尺寸700x413
吉普车简笔画
图片尺寸640x480
公共汽车简笔画车背
图片尺寸450x300
赛车简笔画 汽车儿童画 汽车简笔画 练车儿童画
图片尺寸1572x1280
车简笔画亲子早教学画画手把手教孩子简笔画一辆漂亮的suv汽车小汽车
图片尺寸750x500
可爱摩托车简笔画摩托车简笔画
图片尺寸750x500
玩具车简笔画尾气
图片尺寸450x279
工程车简笔画 工程车的画法
图片尺寸800x450
汽车碰撞
图片尺寸256x256
所述车体的底部固定安装有车轮,且车体的后部固定安装有把手,所述车体
图片尺寸1574x1963
strong>奔驰 /strong>汽车简笔画汽车简笔画
图片尺寸600x406
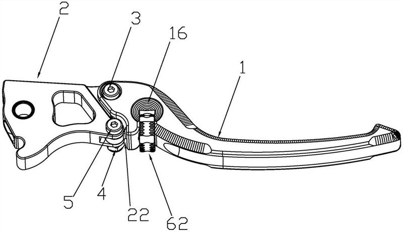
带跨距调节的摩托车刹车把手-爱企查
图片尺寸800x460
一种汽车内门把手-爱企查
图片尺寸1502x1109
一种电动车把手-爱企查
图片尺寸1674x1384