搅拌结构

搅拌装置结构示意图
图片尺寸640x640
搅拌装置常规设计方法
图片尺寸830x1224
系列共轴搅拌机 结构示意图
图片尺寸554x393
桨式搅拌机结构简图
图片尺寸553x480
侧装式浆式搅拌机
图片尺寸599x493
卧式搅拌机结构图_副本
图片尺寸800x511
溶药池立式搅拌机
图片尺寸600x743
一种双螺旋搅拌结构制造技术
图片尺寸616x1000
磁力搅拌器
图片尺寸400x300
双曲面潜水搅拌机结构示意
图片尺寸1460x1643
厂家生产卧式双轴桨叶无重力混合机 粉末混合机 卧式无重力搅拌机
图片尺寸800x393
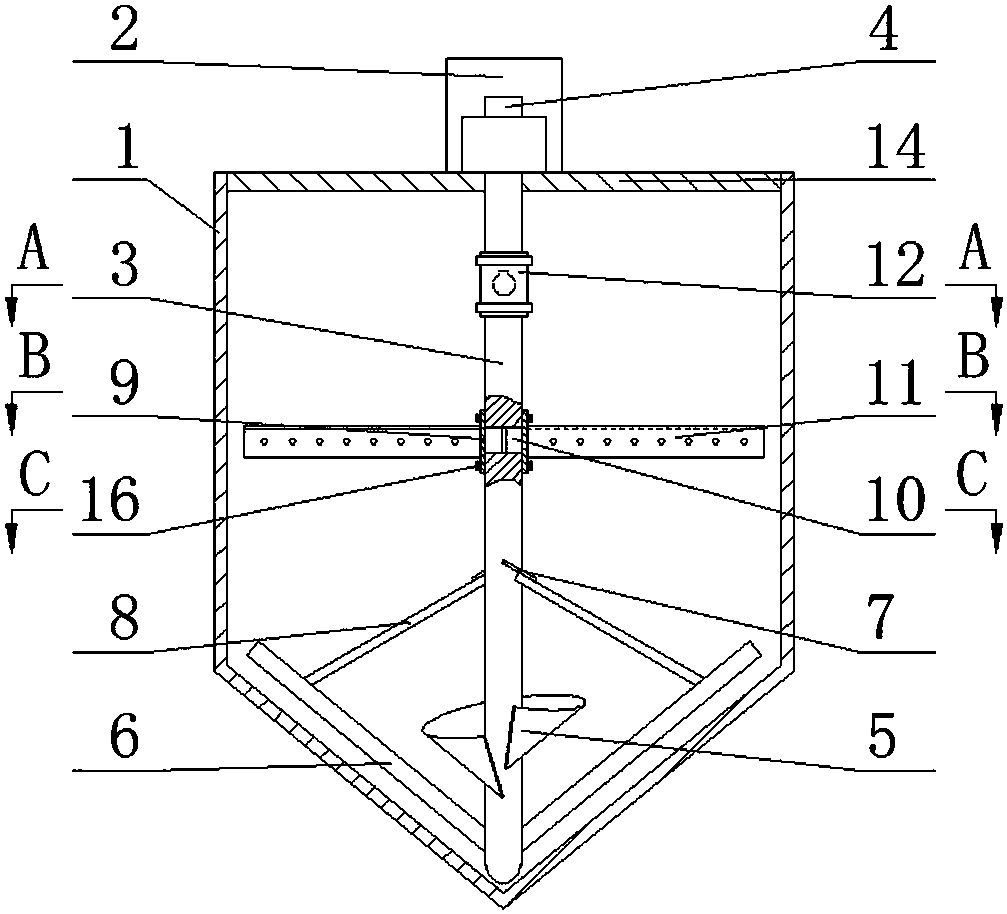
cn207495802u_一种砂浆缸用搅拌结构有效
图片尺寸1007x914
搅拌器单元
图片尺寸1740x2985
强制式混凝土搅拌机结构简介及工作原理
图片尺寸893x492
机械搅拌器设计
图片尺寸920x690
一种pe中间体多元醇反应釜搅拌结构制造技术
图片尺寸703x1000
基本结构: ①釜体 ②换热装置 ③搅拌装置
图片尺寸1080x810
水泥净浆搅拌机,nj-160型水泥净浆搅拌机,nld-3水泥净浆搅拌机
图片尺寸430x538
8,净重:45kg nj-160a水泥净浆搅拌机结构及工作原理 1,结构: 主要由底
图片尺寸687x536
搅拌装置的结构及功能
图片尺寸448x460