搓澡巾简笔画

搓澡巾简笔画的画法
图片尺寸900x600
浴巾图标轮廓风格
图片尺寸1200x1072
搓澡巾
图片尺寸511x511
浴巾图标轮廓风格
图片尺寸821x1200
创意美术浴巾#幼儿美术 #简笔画 #儿童画 #一起学画画 # - 抖音
图片尺寸1440x1920
水疗浴巾图标轮廓风格
图片尺寸1100x1100
浴巾简笔画图片教程
图片尺寸900x600
浴巾简笔画图片教程
图片尺寸900x600
浴巾简笔画怎么画
图片尺寸900x600
浴巾简笔画怎么画
图片尺寸900x600
一种新型搓澡巾
图片尺寸375x479
搓澡简笔画 (第2页)
图片尺寸331x279
孩子裹浴巾简笔画
图片尺寸750x500
01)i 发明名称 多用澡巾 发明人 刘思彤 申请人 刘思彤 申请日期
图片尺寸800x705
嘿嘿,高抛的精品不需要进搓澡巾咯,直接一步到位,可以直接跳到第二
图片尺寸640x288
一种搓澡巾的制作方法
图片尺寸435x483
搓澡巾
图片尺寸800x851
照片素材(图片): 浴巾 毛巾 面巾 洗 净化
图片尺寸340x340
用搓澡巾的熊熊饭绘图
图片尺寸1024x1024
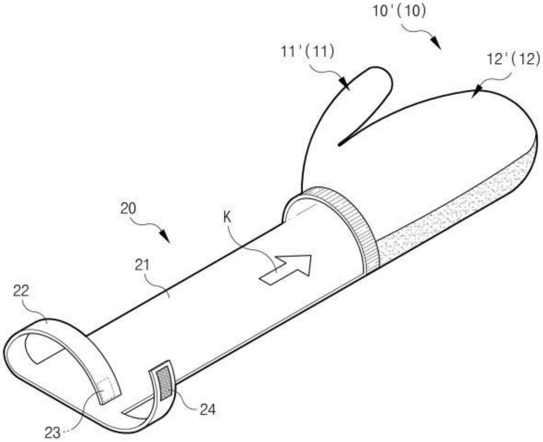
搓澡巾
图片尺寸1834x1494