搓盖机原理图

一种瓶盖自动型旋盖机
图片尺寸1764x2196
cn206328126u_一种瓶盖自动旋盖机有效
图片尺寸1440x1518
搓盖机制造技术
图片尺寸775x1000
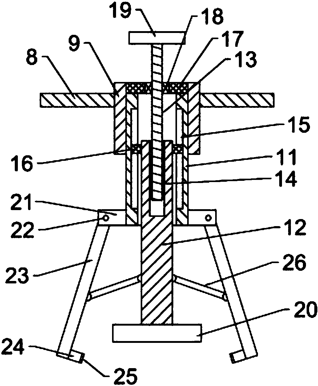
一种搓丝机的制作方法
图片尺寸943x1000
一种拧盖机的制作方法
图片尺寸648x1000
一种高速旋盖机的制作方法
图片尺寸1000x889
直线式旋盖机的理盖机构的制作方法
图片尺寸879x1000
cn107934869a_一种高效食品加工包装用手动抓盖压盖机在审
图片尺寸1033x1253
搓丝机的主要工作原理是待加工的螺杆置于搓丝工位,在驱动装置的驱动
图片尺寸1000x793
一种全自动理盖压盖机的制作方法
图片尺寸1000x708
一种全自动跟随式旋盖机的制作方法
图片尺寸1000x652
是机械加工设备的重要组成,搓丝机的主要工作原理是将轴置于搓丝机上
图片尺寸793x1000
一种搓丝机的制作方法
图片尺寸911x1000
一种自动搓丝机的制作方法
图片尺寸804x1000
一种放盖压盖机的制作方法
图片尺寸924x1000
一种自动搓背机的制作方法
图片尺寸371x443
一种瓶盖自动旋盖机制造技术
图片尺寸952x1000
一种简易自动送料搓牙机的制作方法
图片尺寸971x1000
平板搓丝机执行机构综合传动系统
图片尺寸754x312
腾卓tzxgj旋盖机直线式旋盖机无限速搓盖拧盖机塑料瓶理盖机
图片尺寸900x1275