搬把式开关

海洋级不锈钢结合钻石切割工艺,buster punch 推出全金属照明开关
图片尺寸600x400
开关
图片尺寸500x666
开关图片
图片尺寸650x899
开关
图片尺寸300x266
摇头开关
图片尺寸500x400
扳把开关
图片尺寸1350x1800
d series 摇摆开关
图片尺寸995x836
首页 产品展示 品名: 搬把式两通型浴缸去水 类型: 上控制系列 产品
图片尺寸500x500
首页 产品展示 品名: 搬把式三通型浴缸去水 类型: 上控制系列 产品
图片尺寸500x500
我相信不少坐过旧款的士时都知道摇把式开关,这位车主竟然想到用木块
图片尺寸600x459
钮子开关 kn32 小型电源摇臂拨动开关 12mm 6脚2档
图片尺寸1920x1920
推拉拨动开关
图片尺寸750x750
开关的安装要求_开关的安装步骤
图片尺寸568x454
钮子开关
图片尺寸600x563
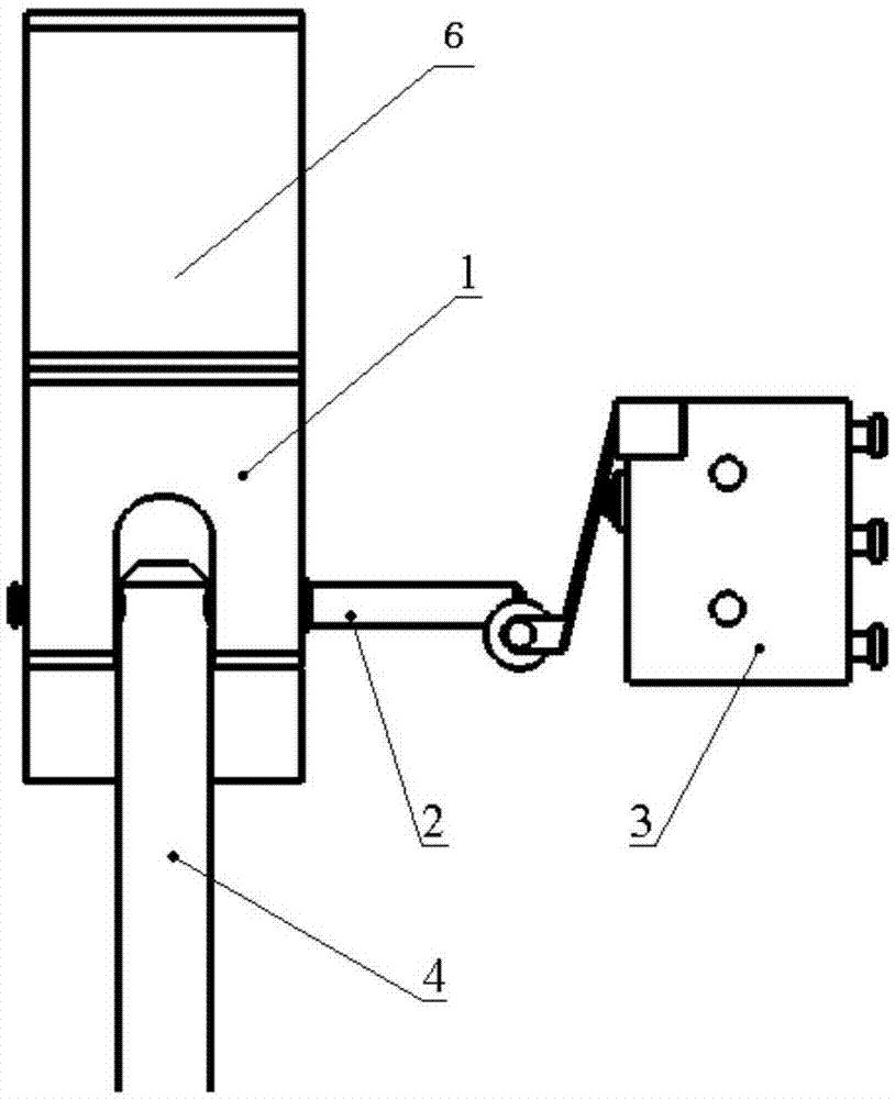
一种用于切换通气气路的搬把式微动开关
图片尺寸814x1000
开关的安装要求_开关的安装步骤
图片尺寸599x736
一种用于切换通气气路的搬把式微动开关的制作方法
图片尺寸902x992
一线作业最忌光说不练的假把式.
图片尺寸854x640
4米,呼叫按钮0.5米,电话高度0.8米,搬把式开关1.
图片尺寸1080x361
开关 标志图片
图片尺寸647x647