摄像机结构图

第二讲 数字摄像机的认识和调整ppt
图片尺寸1080x810
照相机概述及结构详解机械仪表工程科技专业资料
图片尺寸920x690
一种监控摄像机的安装结构的制作方法
图片尺寸443x330
照相机基本结构
图片尺寸1080x810
常用的电视监控摄像机的结构示于图6.2(a),图6.
图片尺寸815x543
摄影师照相机的结构
图片尺寸692x584
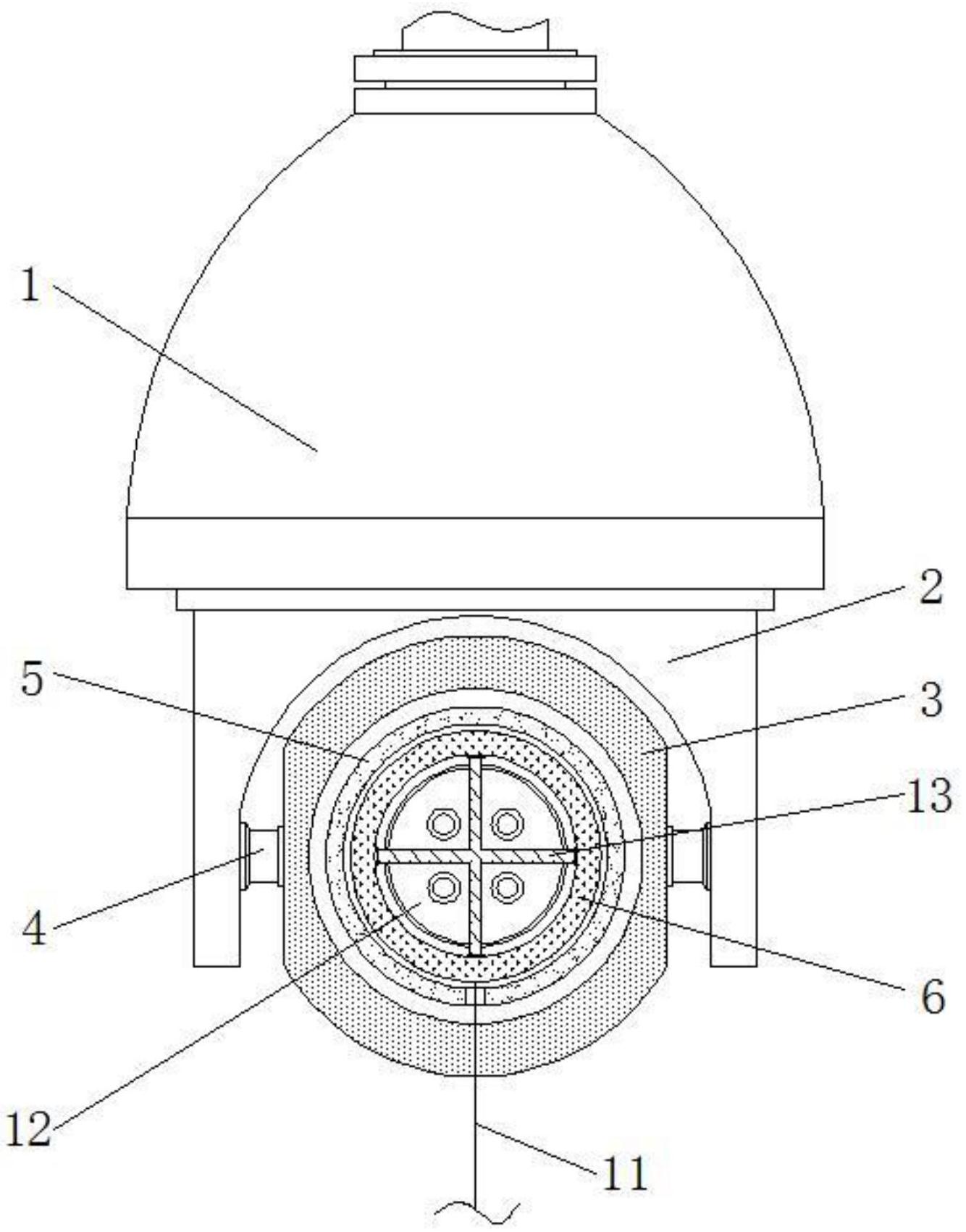
cn111913335a_一种摄像机在审
图片尺寸1993x1631
摄像头模组组装图解摄像头模组厂家排名专业摄像机厂家
图片尺寸569x341
相机部件
图片尺寸690x502
项目一 摄像机原理及基本操作ppt
图片尺寸1080x810
摄像机外壳一般有枪机型的,半球的,球型的.材质上有铝的,塑料的.
图片尺寸641x468
一种带有防冰雾保护结构的摄像机的制作方法
图片尺寸326x295
尼康f801内部结构图相机矢量图
图片尺寸650x524
一种具有报警结构的摄像机的制作方法
图片尺寸334x307
f20高清1080p广角户外运动摄像机 手表式带遥控wifi传输rf 潜水dv
图片尺寸750x323
一种耐辐照筒型摄像机结构的制作方法
图片尺寸443x407
一种具有镜头清洁结构的智能球形摄像机
图片尺寸1334x1700
单反相机结构
图片尺寸893x335
单反相机的结构
图片尺寸520x298
数码单反相机的结构原理
图片尺寸799x424