摆的结构图片

> 三线摆
图片尺寸383x541
教科小学科学五下36摆的研究9ppt
图片尺寸720x450
旧知铺垫 摆的结构 摆:摆由质量很小 的摆绳和下端质量 较大的摆锤
图片尺寸1080x810
一:摆的结构 摆:摆由质量很小的摆绳和下端质量较 大的摆锤构成.
图片尺寸1080x810
图1三线摆结构示意图 图2下圆盘的扭转振动
图片尺寸972x570
考点3 实验探究单摆周期与摆长的关系
图片尺寸895x523
摆式给料机结构
图片尺寸690x517
在1990年代初期摆出了一个类似于他们最初用来描述dna结构的造型
图片尺寸1080x608
摆的振动工作原理与振动周期
图片尺寸269x275
激光水平仪摆体结构的制作方法
图片尺寸335x443
cn111168413a_一种摆头结构在审
图片尺寸1000x706
激光通信平背伺服摆镜支撑结构优化设计
图片尺寸1575x484
激光通信平背伺服摆镜支撑结构优化设计
图片尺寸1575x874
它结构简单,设计新颖,无需电力驱动,通过儿童自身的力量和技巧来进行
图片尺寸553x433
天然构造挺好,别摆歪了
图片尺寸734x1322
xz-iic型随动系统的总体结构图和机械结构图分别如图5和图6所示.
图片尺寸628x485
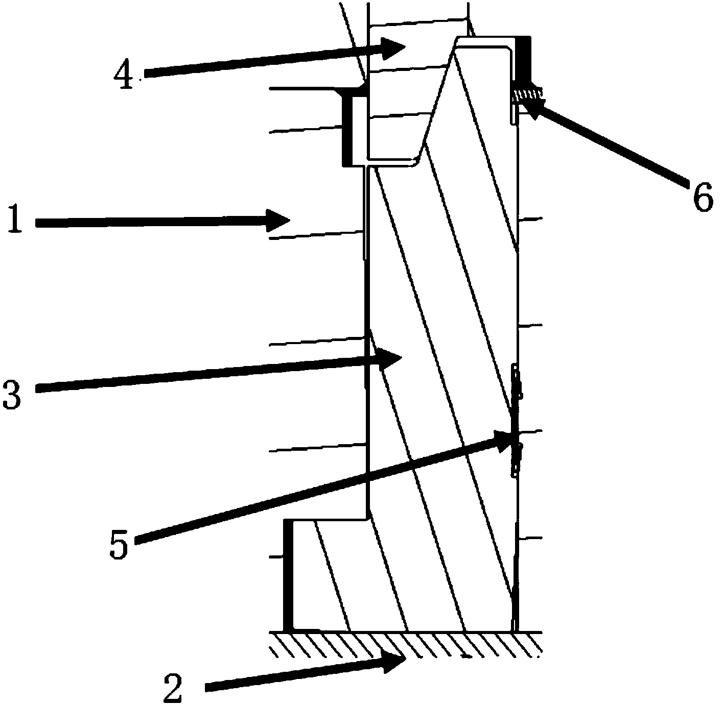
一种弹块摆杆结构
图片尺寸1415x1381
摆式电涡流tmd钢框架结构的耦合计算方法与减震分析
图片尺寸700x462
ug模具设计之摆角度斜顶头结构 (1)
图片尺寸1280x720
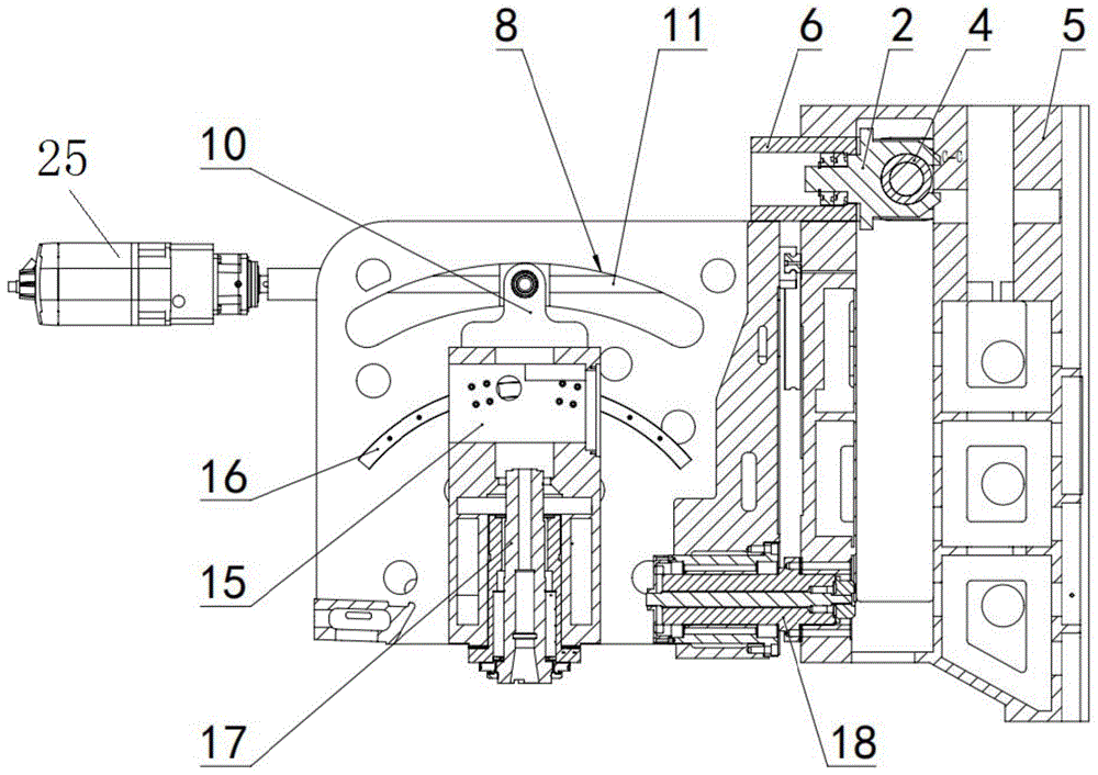
摆环机构的结构较紧凑.
图片尺寸703x621