摇摆式颗粒机结构图

一种摇摆式颗粒机制造技术
图片尺寸821x1000
现货供应yk-160摇摆式造粒机摇摆式颗粒机固体冲剂速溶颗粒机
图片尺寸1024x768
ybk160供应ybk160北京高效摇摆式颗粒机不锈钢摇摆颗粒机厂家
图片尺寸830x435
cn206935312u_一种摇摆式颗粒机有效
图片尺寸1432x1299
摇摆式颗粒机的工作原理
图片尺寸354x334
摇摆式颗粒机的工作原理
图片尺寸488x430
厂家供应感冒冲剂制粒机 摇摆式制粒机 板蓝根颗粒制粒机质量保证
图片尺寸790x1157
摇摆式颗粒机swinggranulator
图片尺寸373x459
cn205550216u_摇摆式颗粒机有效
图片尺寸909x1000
yk型摇式颗粒机
图片尺寸864x560
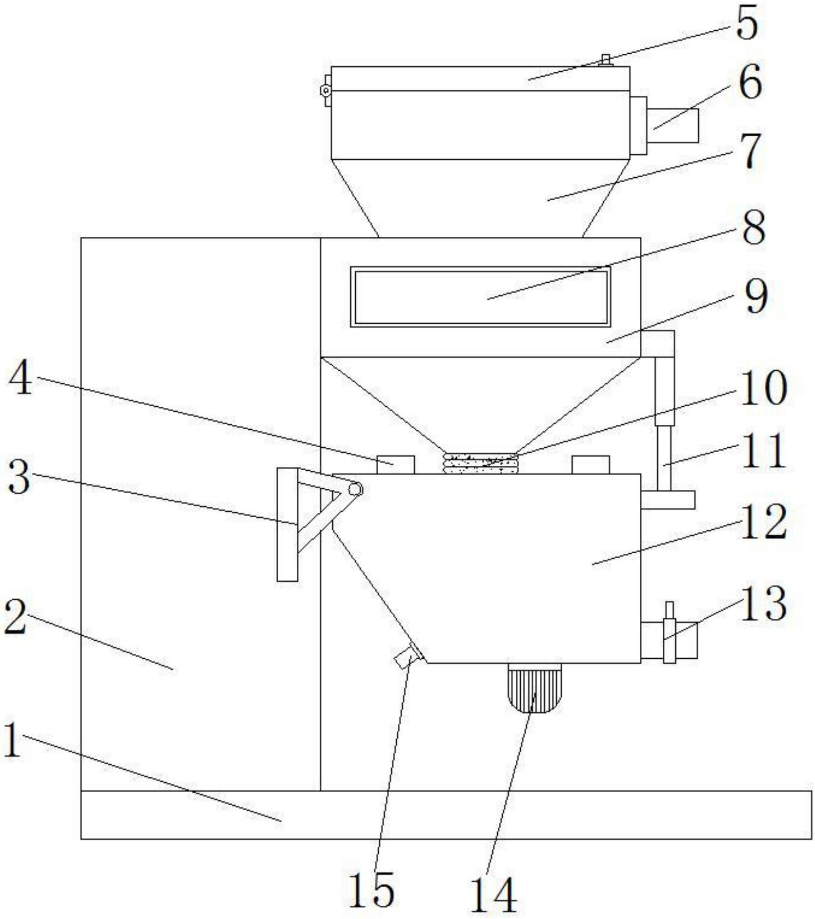
cn113101865a_一种防尘的摇摆式颗粒机在审
图片尺寸1655x1677
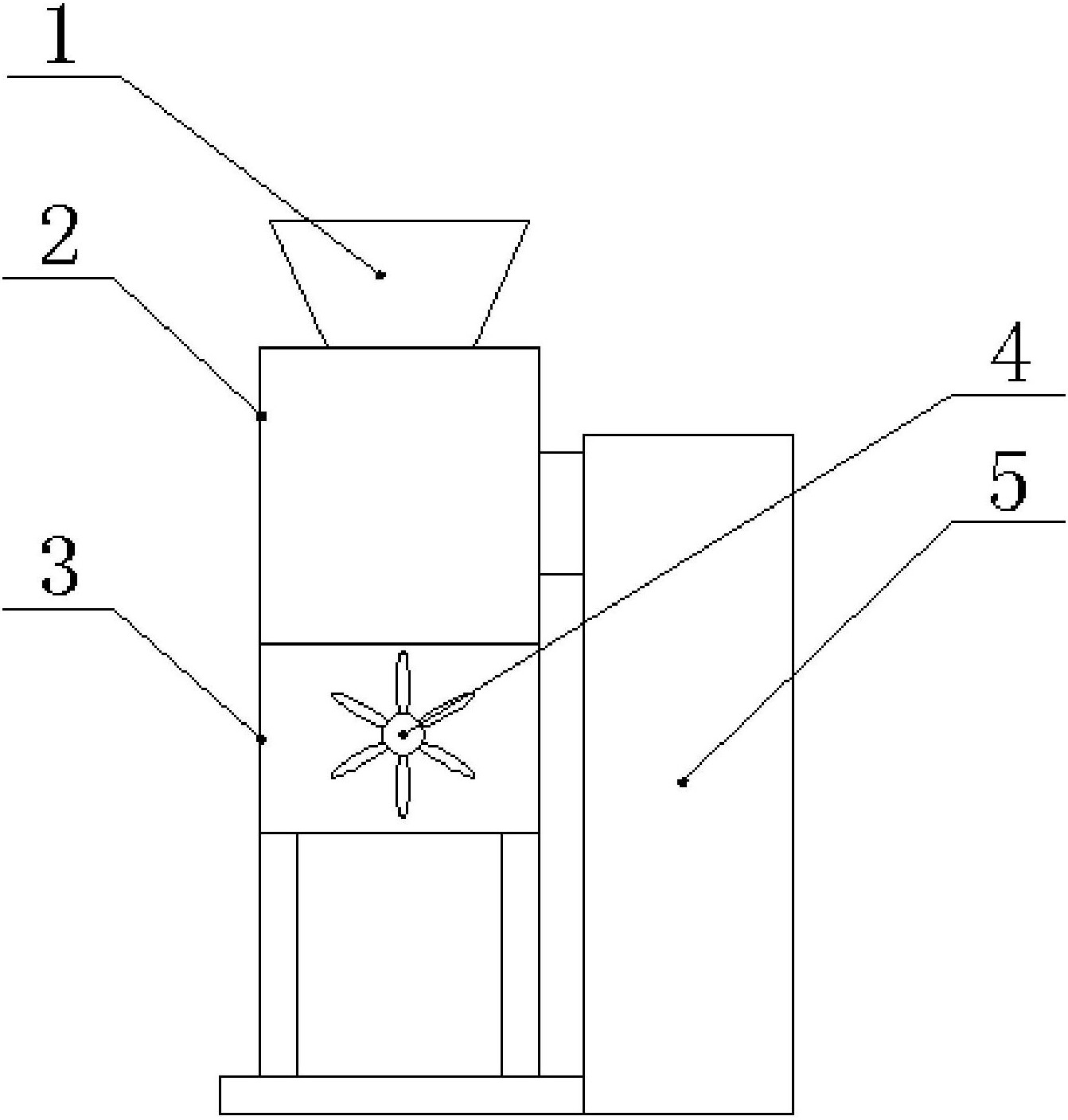
一种摇摆式颗粒机的制作方法
图片尺寸350x443
cn213699763u_一种制药用的摇摆式颗粒机有效
图片尺寸1183x1179
yk-160型摇摆颗粒机结构图
图片尺寸767x484
一种摇摆式颗粒机的制作方法
图片尺寸444x420
摇摆颗粒机的制作方法
图片尺寸1000x955
160摇摆制粒机 制药造粒机 摇摆式颗粒机 160制粒机 造粒机
图片尺寸750x1074
无菌摇摆式颗粒机
图片尺寸1670x1882
一种制粒均匀的摇摆式颗粒机-爱企查
图片尺寸1342x1407
一种摇摆式颗粒机
图片尺寸360x314