摇臂钻床水平轴结构图

一种摇臂钻床主轴箱的水平轴结构
图片尺寸542x386
一种新型便于调节的工装加工用摇臂钻床
图片尺寸1755x1660
一种摇臂钻床的制作方法
图片尺寸1000x962
江苏钻床厂家销售50摇臂钻床 z3050x16/1重型摇臂钻床质保
图片尺寸790x365
cn2468637y_一种摇臂钻床的主轴箱失效
图片尺寸627x939
通常主轴箱在摇臂上作水平移动的钻床
图片尺寸349x379
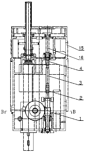
cn105328242a_一种数显型摇臂钻床的主轴进给机构有效
图片尺寸347x608
摇臂钻床系列的主要结构概述
图片尺寸960x1280![背景技术:[0002]摇臂钻床,也可以称为横臂钻,主轴箱可在摇臂上左右](https://i.ecywang.com/upload/1/img2.baidu.com/it/u=3104468663,1912227386&fm=253&fmt=auto&app=138&f=JPEG?w=365&h=444)
背景技术:[0002]摇臂钻床,也可以称为横臂钻,主轴箱可在摇臂上左右
图片尺寸365x444
摇臂钻床结构图?
图片尺寸372x343
摇臂钻床结构说明图
图片尺寸514x377
通常主轴箱在摇臂上作水平移动的钻床
图片尺寸875x1000
z32k摇臂钻床主轴部分装配图
图片尺寸680x480
摇臂钻床的主要结构
图片尺寸244x300
z3050摇臂钻床外形结构和电动机启动特点
图片尺寸550x494
一种摇臂钻床
图片尺寸1562x2190
通常主轴箱在摇臂上作水平移动的钻床
图片尺寸1000x746
一种数显型摇臂钻床的主轴进给机构,由水平轴及蜗杆轴组成,在芯轴的
图片尺寸340x604
一种冲压件加工用摇臂钻床的制作方法
图片尺寸984x1000
一种精密金属件加工摇臂钻床-爱企查
图片尺寸1652x1584