摇轴支座结构图

气门摇轴支座pdf
图片尺寸800x1132
d16气门摇杆轴支座机械加工工艺及夹具设计--钻2-φ13孔 - 抖音
图片尺寸1036x750
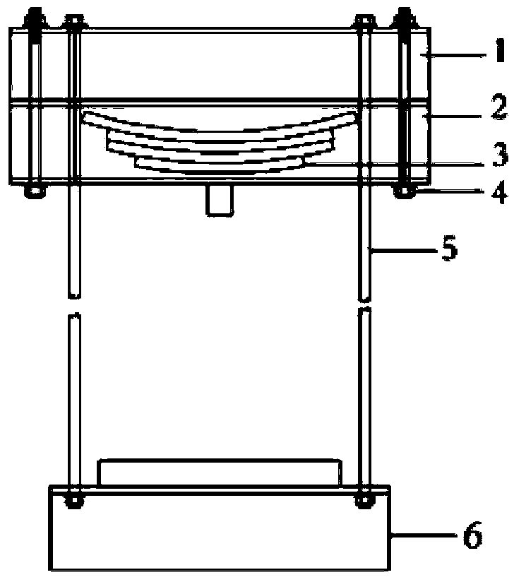
一种大刚度摇轴支座自动复位装置
图片尺寸728x824
一种铁路桥梁摇轴支座及其施工方法与流程
图片尺寸716x1000
a3气门摇杆轴支座零件图pdf
图片尺寸800x566
桥梁支座作为把上部结构的各种荷载传递到墩台上的关键施工部位,需要
图片尺寸640x480
气门摇杆轴支座零件图pdf
图片尺寸800x1132
1气门摇杆轴支座零件图pdf
图片尺寸800x1132
气门摇臂轴支座零件图pdf
图片尺寸920x651
1气门摇杆轴支座零件图.pdf_第1页
图片尺寸800x566
1气门摇杆轴支座零件图pdf
图片尺寸800x1132
气门摇杆轴支座镗20通孔装配图.pdf
图片尺寸800x566
气门摇杆轴支座的铣底面夹具设计及加工工艺
图片尺寸820x646
1气门摇杆轴支座零件图.pdf_第1页
图片尺寸800x566
气门摇臂轴支座零件图a2pdf
图片尺寸920x651
三,摇轴支座
图片尺寸502x438
气门摇杆轴支座机械加工工艺及镗φ20孔夹具设计【含cad图纸,说明书】
图片尺寸1200x800
0气门摇杆轴支座零件图.dwg--点击预览
图片尺寸1200x800
气门摇杆轴支座零件的机械加工工艺规程及专用夹具设计镗20孔zip
图片尺寸2338x1653
气门摇杆轴支座加工工艺及夹具设计cad图纸 说明书
图片尺寸819x1158