摊铺机简笔画

摊铺机
图片尺寸1344x895
摊铺机
图片尺寸1364x901
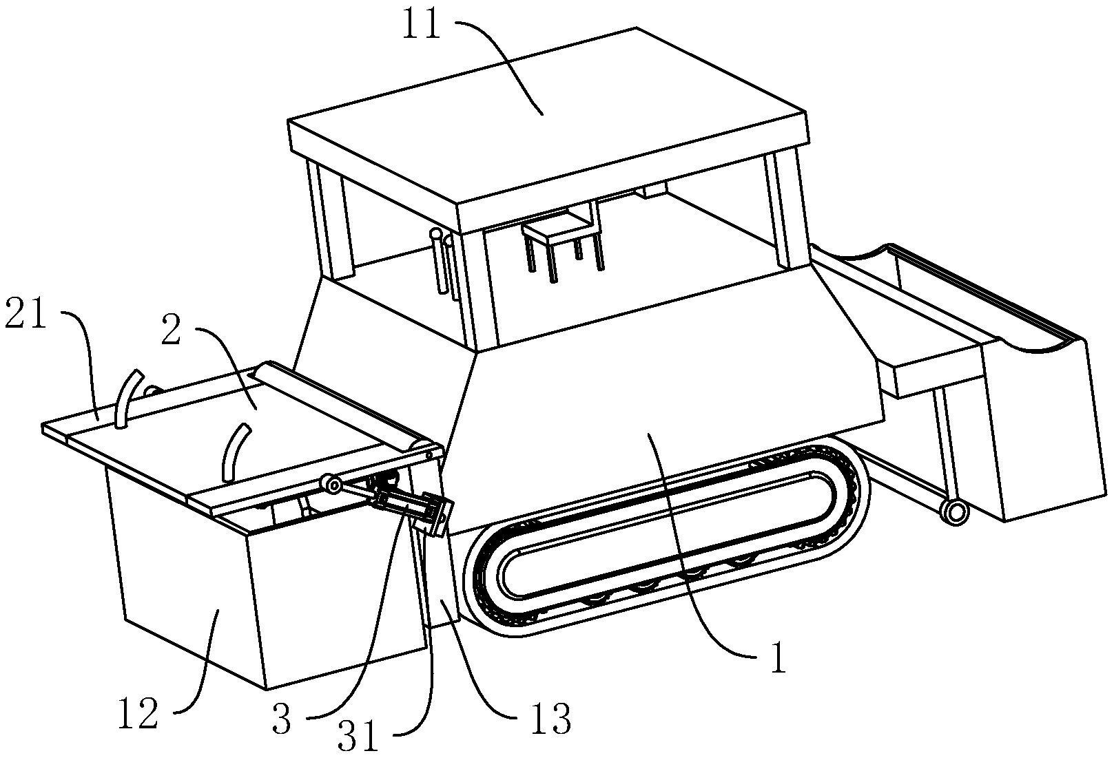
摊铺机的制作方法
图片尺寸983x1000
abg7620沥青混凝土摊铺机
图片尺寸525x341
沥青混凝土摊铺机详细的图标插画-正版商用图片1pzsai-摄图新视界
图片尺寸700x700
摊铺机
图片尺寸1984x1283
钢渣路面用摊铺机-爱企查
图片尺寸1323x830
摊铺机
图片尺寸256x256
一种道路施工用的铺路机的制作方法
图片尺寸1000x694
柏油摊铺机简笔画
图片尺寸220x220
钢渣路面用摊铺机的制作方法
图片尺寸1000x633
摊铺机
图片尺寸2240x1010
一种摊铺机-爱企查
图片尺寸1897x1859
涉及建筑施工设备的领域,包括摊铺机本体,驾驶室,熨平板和进料斗,还
图片尺寸1758x1102
沥青摊铺机, 矢量图插画-正版商用图片0q4q5g-摄图新视界
图片尺寸700x700
一种摊铺机-爱企查
图片尺寸1617x1104
摊铺机
图片尺寸256x256
一种道路施工用沥青混凝土摊铺机的制作方法
图片尺寸1000x559
一种摊铺机供料辅助装置-爱企查
图片尺寸799x576
摊铺机送料装置的制作方法
图片尺寸953x1000