支承结构

轻型系列回转支承(薄型)——内齿式
图片尺寸363x446
常见回转支承结构组件
图片尺寸1080x1096
支承式支座 支承式支座多用于安装在距地坪或基准面较近的具有椭圆
图片尺寸1080x810
船用起重机回转支承结构形式及技术要求
图片尺寸767x518
堵塞销 隔离块 滚动体 堵塞 内圈 回转支承结构图解 马鞍山 - 抖音
图片尺寸1020x840
正圆单排球式回转支承qua.560.20
图片尺寸505x416
轴承支承结构
图片尺寸1525x1756
其本身刚度并不大,主要依赖支承它的底盘和转台的结构刚度
图片尺寸357x383
一种新型的传动轴支承结构制造技术
图片尺寸1003x885
船用起重机回转支承结构形式及技术要求
图片尺寸798x573
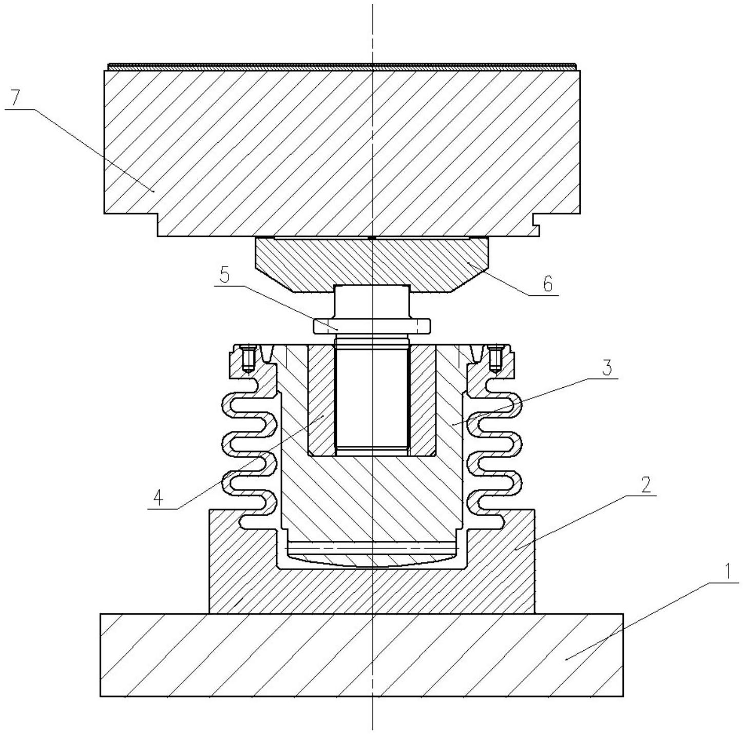
钻削动力头主轴支承结构
图片尺寸1289x2837
inavlu系列轻型回转支承
图片尺寸678x510
系列) -内齿式 单排四点接触球式回转支承由两个座圈组成,结构
图片尺寸318x352
龙马回转支承结构图回转支承根据其结构形式不同主要可分为单排四点
图片尺寸769x409
直线运动滚动支承的分类结构与代号
图片尺寸871x605
所有分类 高等教育 工学 第十一章 支承ppt (2)剖分式圆柱形轴承结构
图片尺寸1080x810
滚珠丝杠用60角接触球轴承支承结构分析与寿命计算
图片尺寸1000x422
辊式磨粉机辊体的转动支承装置 - cn90220634.
图片尺寸2464x1696
单排球式回转支承(l系列)
图片尺寸260x235
cn213684372u_一种立式水轮发电机推力轴承支承结构有效
图片尺寸1449x1431