支撑机构

一种悬轨钻机用升降门式支撑机构
图片尺寸1585x1765
高稳定性模具支撑机构
图片尺寸1715x750
底部支撑机构
图片尺寸465x672
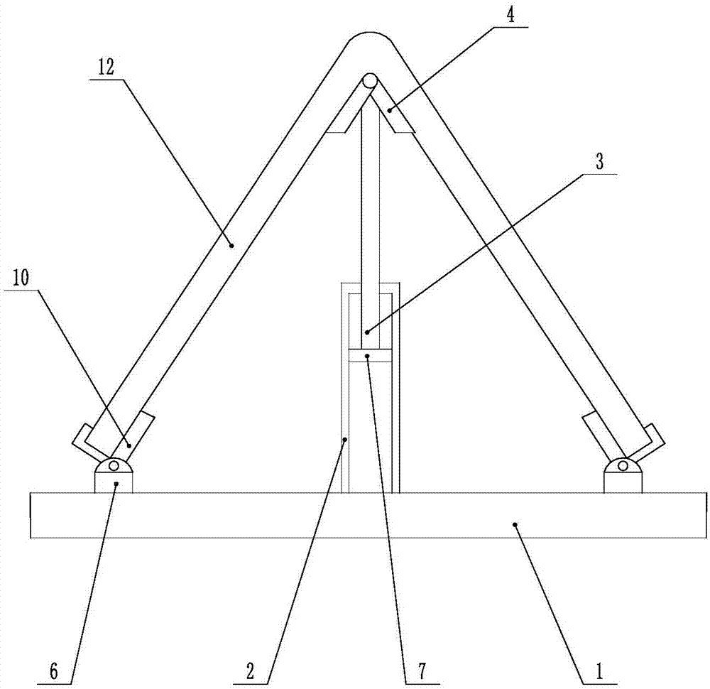
剪式圆管支撑机构
图片尺寸419x571
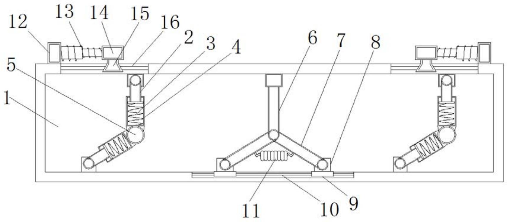
机械支撑机构
图片尺寸274x462
cn110800709b_一种钓鱼过程中鱼竿的定位支撑机构有效
图片尺寸1263x1842
圆柱体旋转调整定位支撑机构
图片尺寸820x701
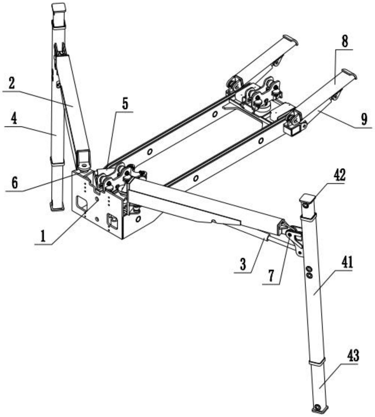
多行程组装机构的后侧支撑机构
图片尺寸376x475
一种气浮式空间微重力模拟柔性支撑机构
图片尺寸1984x1643
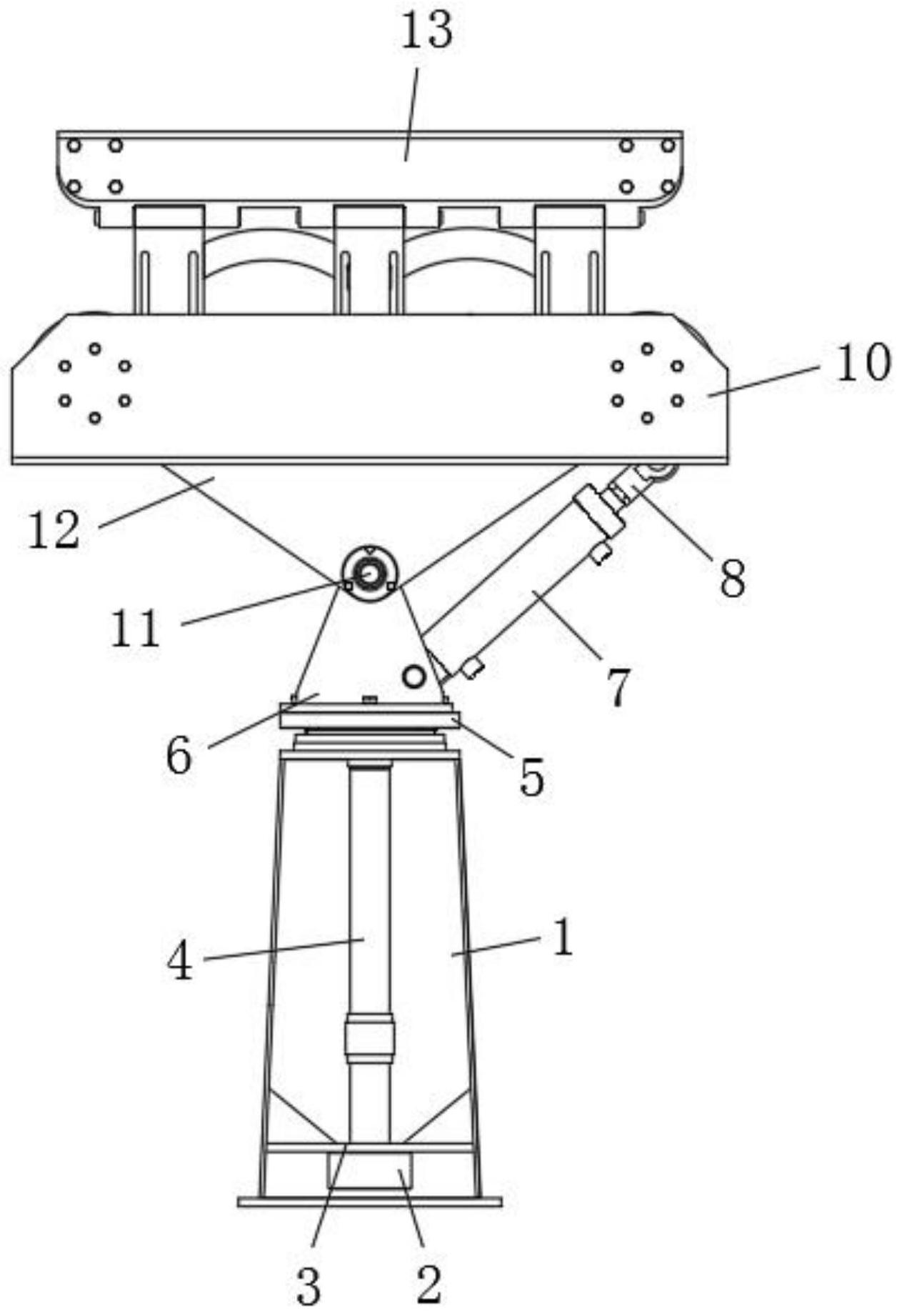
升降支撑机构
图片尺寸1000x726
cn109186310a_空冷器管束支撑机构
图片尺寸1000x970
2点同步倾斜机构倾斜支撑结构
图片尺寸748x489
工件支撑位置变换机构
图片尺寸656x539
工件支撑位置阶段机构
图片尺寸558x354
独立悬挂支撑机构
图片尺寸530x486
支撑升降机构
图片尺寸651x571
标签盘支撑机构
图片尺寸694x483
包装袋开袋机构
图片尺寸473x495
nsdxaz下开门左用阻尼支撑
图片尺寸269x220
一种吸震式支撑机构的制作方法
图片尺寸302x444