支撑杆原理图

cn2908715y_支撑杆失效
图片尺寸2173x835
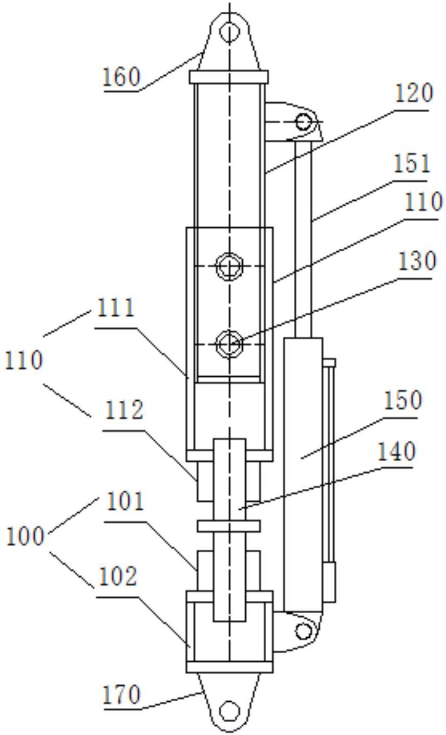
一种汽车尾门电动撑杆的制作方法
图片尺寸1000x854
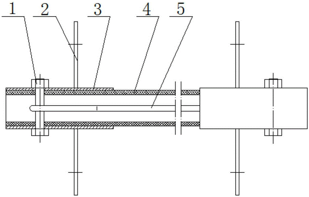
一种配网带电作业导线支撑杆的制作方法
图片尺寸1000x737
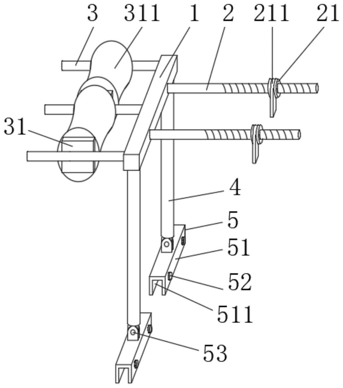
一种加固大门的可伸缩支撑杆结构
图片尺寸940x1000
cn110027847b_皮带支撑杆有效
图片尺寸1123x1272
一种可伸缩的模板支撑杆结构的制作方法
图片尺寸359x1000
cn105406392a_一种内置双鼻钢丝绳套的玻璃钢管支撑杆失效
图片尺寸1000x639
一种支撑锁紧结构的制作方法
图片尺寸1000x488
一种准零刚度支撑杆的制作方法
图片尺寸965x1000
一种高强度玻璃钢支撑杆的制作方法
图片尺寸408x443
cn108296025a_一种顶打静电除尘器高压支撑杆装置在审
图片尺寸200x394
一种汽车后箱电动气压支撑杆-爱企查
图片尺寸302x431
双锁紧,万向座伸缩撑杆制造技术,伸缩支撑杆专利_技高网
图片尺寸709x577
一种超静音型电动撑杆的制作方法
图片尺寸460x343
一种玻璃棒挤塑水平支撑杆-爱企查
图片尺寸422x367
可调节模板支撑杆-爱企查
图片尺寸871x1436
2017215177003
图片尺寸536x887
不锈钢拉杆式支撑杆lg2
图片尺寸348x243
一种无级调节伸缩撑制造技术,无级伸缩杆详图专利_技高网
图片尺寸904x1000
随意停气弹簧的工作原理
图片尺寸849x581