收口模具结构图

模具结构图
图片尺寸736x1075
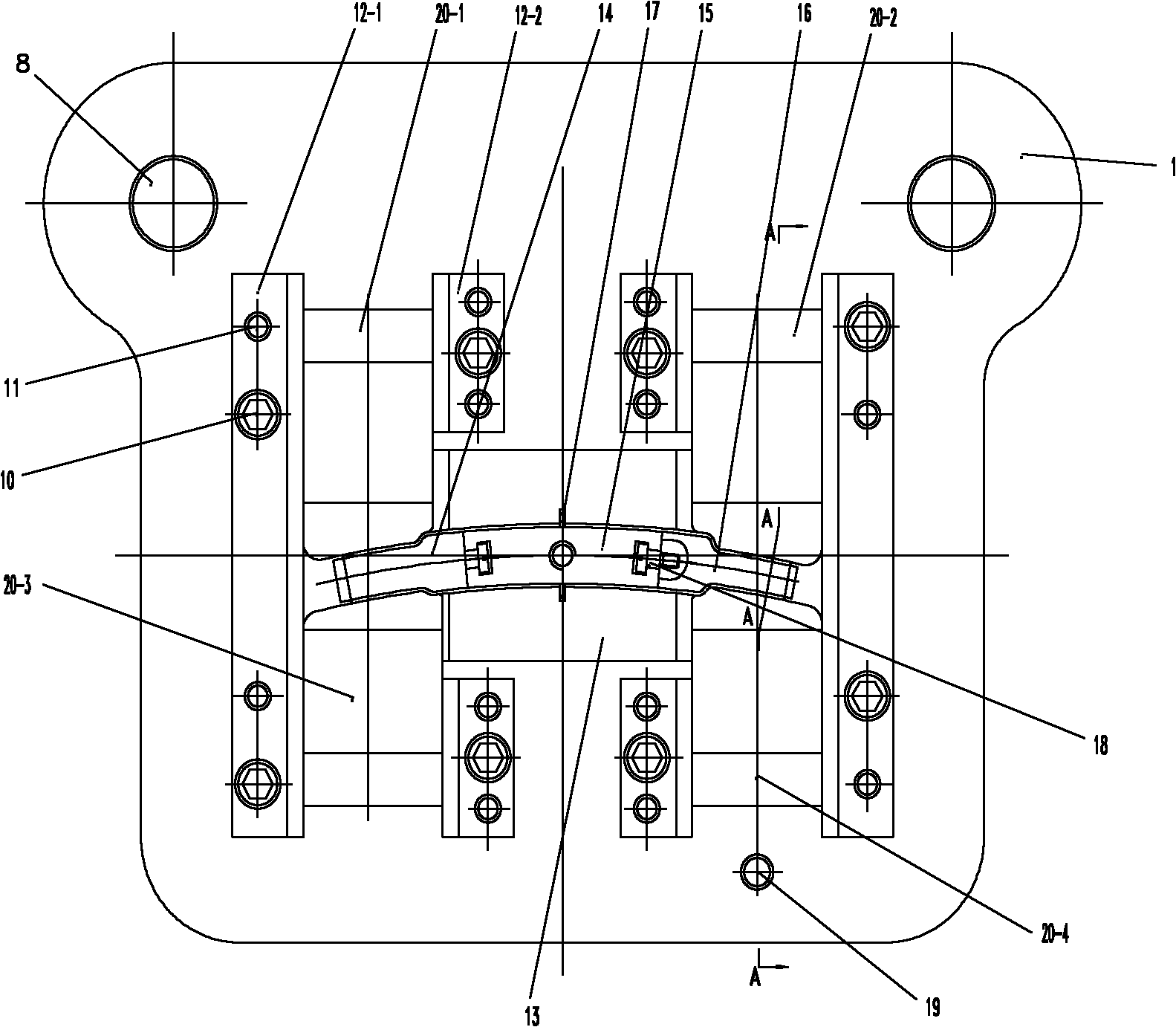
cn102513447a_一种u形件侧向收口模具有效
图片尺寸1583x1382
cn201470712u_用于管材的可拆换多次收口成型模具失效
图片尺寸800x986
涉及对铝合金材质均压筒的筒口内翻边收口模具.结构简单,成本低廉.
图片尺寸1203x1112
模具结构图的问题
图片尺寸1572x1946
模具结构图
图片尺寸1100x808
注塑模具的基本结构
图片尺寸681x1005
cn103317013a_一种扩胀收口成型模具有效
图片尺寸1000x624
收音机前壳注塑模具结构图说明
图片尺寸1114x1166
典型模具结构图
图片尺寸750x1328
4- 模具结构图
图片尺寸628x539
一种弹性隔套收口模具的制作方法
图片尺寸431x443
大水口 细水口 简化细水口模具的区别
图片尺寸1602x916
模具结构及工作原理ppt
图片尺寸1080x810
求模具的结构名称示意图 标示图
图片尺寸450x270
一种扩胀收口成型模具-爱企查
图片尺寸1136x709
塑胶模具结构,使用及保养ppt
图片尺寸1080x810
一种喷油管收口模具的制作方法
图片尺寸575x519
适用于成对轴承的单面或双面球形冲点收口模具
图片尺寸519x1000
注射模具的基本结构与分类ppt
图片尺寸1080x810