收尘罩设计图

一种移动柔性收尘罩及在线收尘系统的制作方法
图片尺寸1000x799
cn110899332a_可移动式集尘罩
图片尺寸1000x898
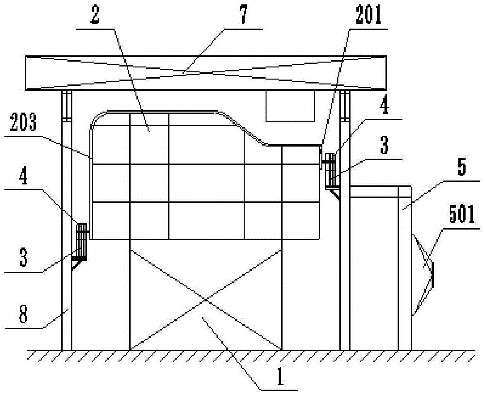
一种移动式智能收尘罩
图片尺寸999x816
一种回转式吸尘罩制造技术
图片尺寸1000x998
一种基于风幕机和收尘罩实现封闭区间内收尘系统的制作方法
图片尺寸783x1000
cn102586522a_一种高炉出铁口除尘罩失效
图片尺寸2996x1756
一种适用于有色金属火法冶炼过程的翻转式集尘罩
图片尺寸1537x1444
除尘器吸风罩设计图纸
图片尺寸1205x812
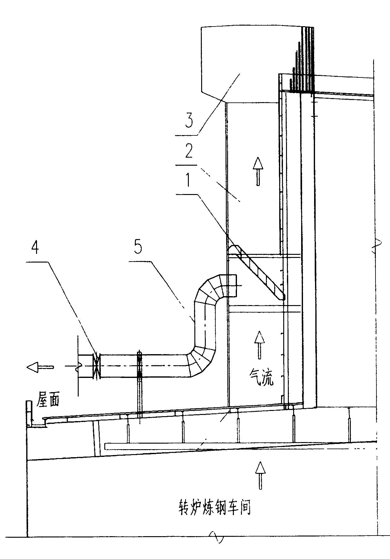
转炉厂房气楼罩收尘装置
图片尺寸1264x1812
车间通风除尘clp∕b型旋风除尘器设计
图片尺寸351x483
ppc966除尘器全套图纸
图片尺寸1255x855
砂带机集尘罩
图片尺寸1656x1276
ppcs64-4袋收尘器总图
图片尺寸1502x767
一种铝电解换极收尘系统收尘罩开闭机构的制作方法
图片尺寸312x494
一种印刷机废气收集集气罩
图片尺寸1754x850
脉冲式布袋除尘器设计图纸
图片尺寸1440x1020
集尘罩
图片尺寸1152x1620
21套除尘设备图纸/布袋除尘器图纸环保除尘设备图纸除尘器cad图纸 21
图片尺寸990x643
cn107551686a_一种高分子除尘器在审
图片尺寸970x1000
木工雕刻机吸尘罩推拉式防尘罩排尘罩主轴电机除尘罩雕刻机配件
图片尺寸790x900