收紧装置

k k/皇加力 收紧装置
图片尺寸600x600
紧固织带带子收紧绑带棘轮紧绳器拉紧器
图片尺寸800x800
张紧收紧装置
图片尺寸600x400
【厂家直销】棘轮捆绑带 6公分拉紧器 汽车紧绳器 收紧器 捆绑器
图片尺寸1920x1920
夹紧机构
图片尺寸829x513
塑钢lings加强装置绞盘收紧夹紧打包手持耐磨型捆扎机
图片尺寸800x800
一种线圈吊运辅助收紧装置-爱企查
图片尺寸1036x1002
寶品坊 纤维打包带收紧器 适用于宽16-19mm纤维打包带 锋利型手动打包
图片尺寸800x800
前悬挂架收紧装置
图片尺寸500x500
塑钢带收紧器 pet打包机 16-19mm宽打包带通用型收紧绞盘装置手动拉紧
图片尺寸790x478
包邮 塑钢带收紧器 打包机 pet打包机 16-19通用型 收紧绞盘装置
图片尺寸310x310
收紧器-多功能~~~紧线器 dj-a(2t)棘轮~~~紧线器收线器 牵引器~~~.
图片尺寸1920x1280
特价锁紧装置_花蓝捆绑带装置带收紧缝链条收紧器张包装铁丝钢丝绳锁
图片尺寸716x595
带体自动收紧装置的制作方法
图片尺寸1000x906
收紧器-多功能~~~紧线器 dj-a(2t)棘轮~~~紧线器收线器 牵引器~~~.
图片尺寸1920x1280
一种打包带收紧装置
图片尺寸1597x1141
棘轮收线器 ■配合卡线器,收紧导线和地线用.有防倒装置,安全可靠.
图片尺寸750x563
螺旋拉紧装置 dtii型拉紧器 丝杠树德生产
图片尺寸750x750
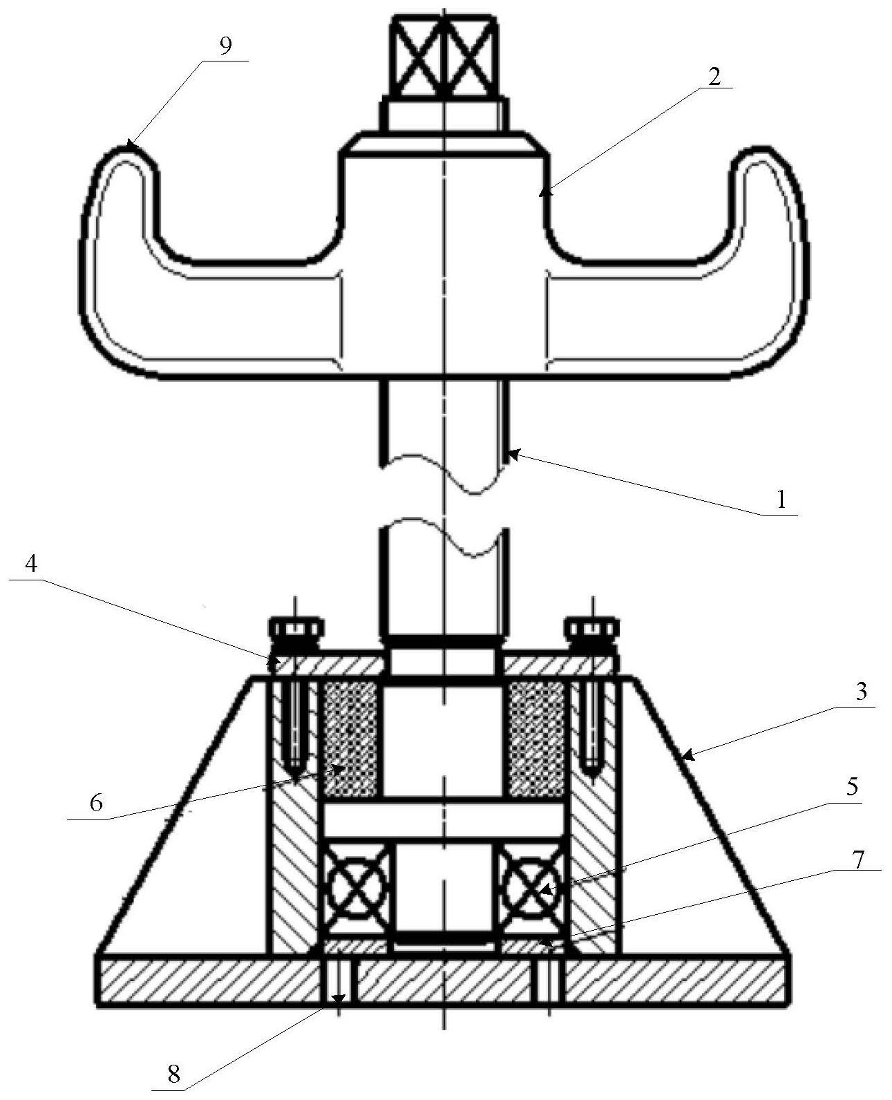
cn201949084u_骨科用钻套夹紧装置有效
图片尺寸1482x878
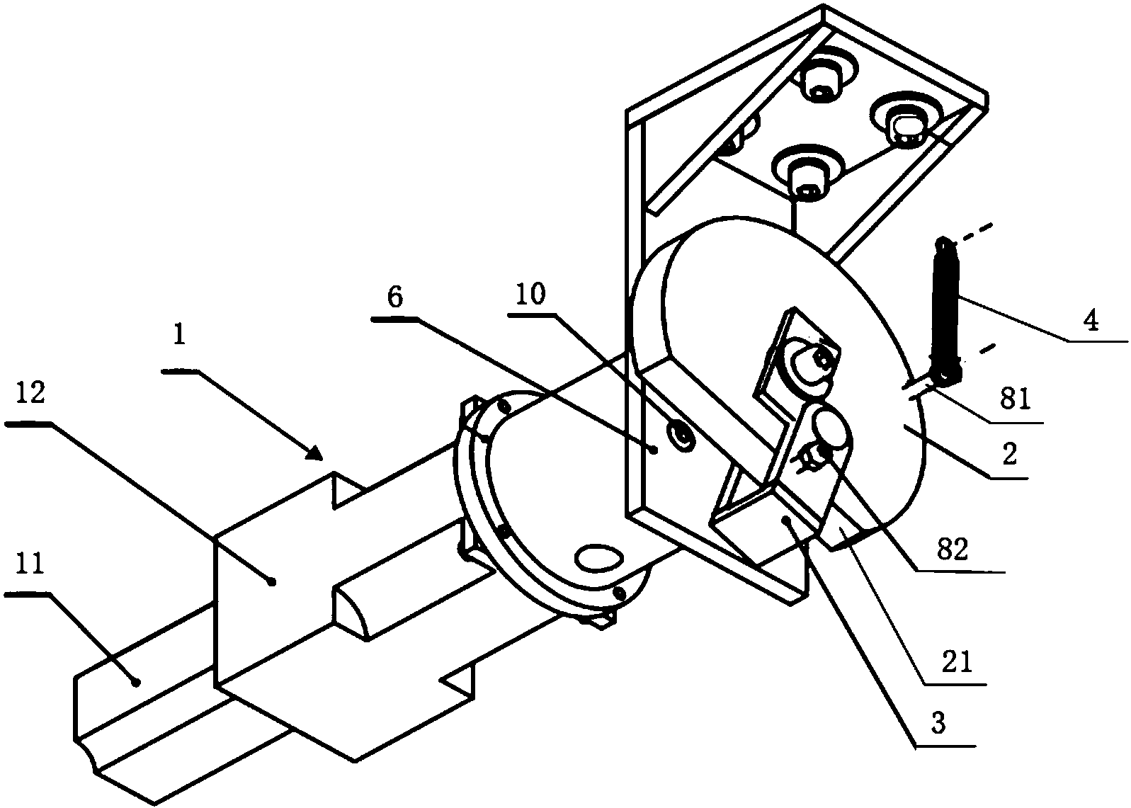
cn111710518a_一种变压器铁芯收紧装置在审
图片尺寸1291x1592