放矿漏斗设计图

2立方称量漏斗图纸
图片尺寸820x597
放矿漏斗的制作方法
图片尺寸319x443
一种放矿漏斗的制作方法
图片尺寸728x1000
1.5立方米漏斗的设计cad图纸
图片尺寸820x580
简易放矿漏斗装置的制作方法
图片尺寸1000x506
cn201614280u_一种与玻璃棒结合的漏斗失效
图片尺寸800x886
一种侧装煤车放灰漏斗的制作方法
图片尺寸971x1000
制砂漏斗模型
图片尺寸724x660
一种矿用可调量卸料漏斗的制作方法
图片尺寸540x447
本实用新型涉及矿下机械技术领域,具体设计一种新型放矿漏斗装置.
图片尺寸443x413
一种压杆式放矿漏斗-爱企查
图片尺寸325x558
cn201592908u_遥控刮板式漏斗放矿机有效
图片尺寸1681x1311
一种催化剂装填专用漏斗制造技术
图片尺寸968x1000
铁精矿的布料漏斗的制作方法
图片尺寸689x1000
聚四氟乙烯放料漏斗以及聚四氟乙烯预成型装置的制作方法
图片尺寸1000x836
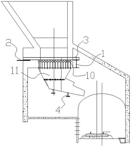
一种放矿漏斗放矿控制装置的制作方法
图片尺寸443x313
板式给料机排矿漏斗安装图
图片尺寸820x365
500立方三叉漏斗燃煤储备仓
图片尺寸812x564
首页 专利查询 重钢西昌矿业有限公司专利 >正文 有鉴于此,本技术的
图片尺寸1000x793
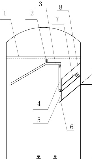
cn110713025b_一种溜井悬吊式振动放矿机漏斗框的快速安装方法
图片尺寸456x507