散热片平面图

散热器
图片尺寸680x469
一种便于拆装散热的散热片-爱企查
图片尺寸1765x1181
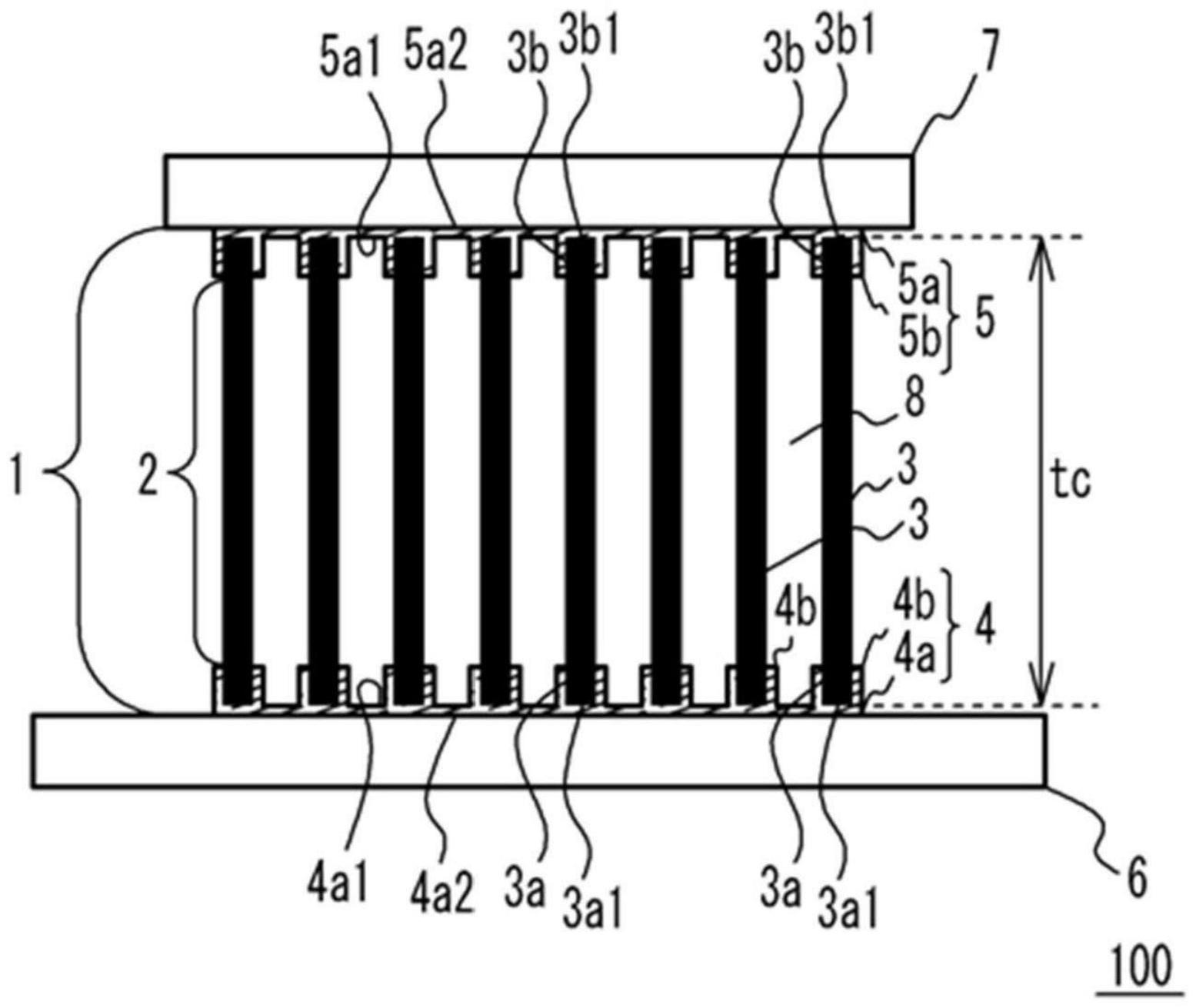
cn112930076a_散热片以及制造散热片的方法在审
图片尺寸1555x1311
散热片是怎么散热的
图片尺寸795x560
cn100445687c_用于热交换器的缝隙式散热片失效
图片尺寸1836x2540
散热片大功率功放电子散热器铝板散热器
图片尺寸750x750
一种铝质焊接式管片散热器-爱企查
图片尺寸800x569
桌子型 散热片 铝型材散热器 宽85mm高100mm可加工 定制 开模设计
图片尺寸804x700
超导暖气片的优缺点和钢制板式散热器的介绍
图片尺寸1185x633
一种便于维护的电源铝片散热器的制作方法
图片尺寸443x382
一种车载锂电池用散热片的制作方法
图片尺寸443x323
铜铝散热器安装示意图
图片尺寸560x398
散热片(25)-爱企查
图片尺寸376x336
一种用于手机后盖的散热片安装治具-爱企查
图片尺寸800x677
cn212006874u_一种组装片式散热器有效
图片尺寸1576x1242
电力电子,通信电源散热片
图片尺寸693x498
散热片铝型材20mm电子散热器芯片导热黑色散热器
图片尺寸834x834
cpu液冷散热器的设计
图片尺寸819x579
1cm型材散热器
图片尺寸499x332
散热器散热片元器件mosic电子12mm黑色散热器
图片尺寸803x804