数据交换平台架构

政务数据共享交换平台的逻辑架构
图片尺寸1920x1080
交换数据空间
图片尺寸2560x1812
数据交换软件架构系统
图片尺寸1517x1279
企业数据中台(大数据中心,共享交换平台,数据管理平台)
图片尺寸1863x1064
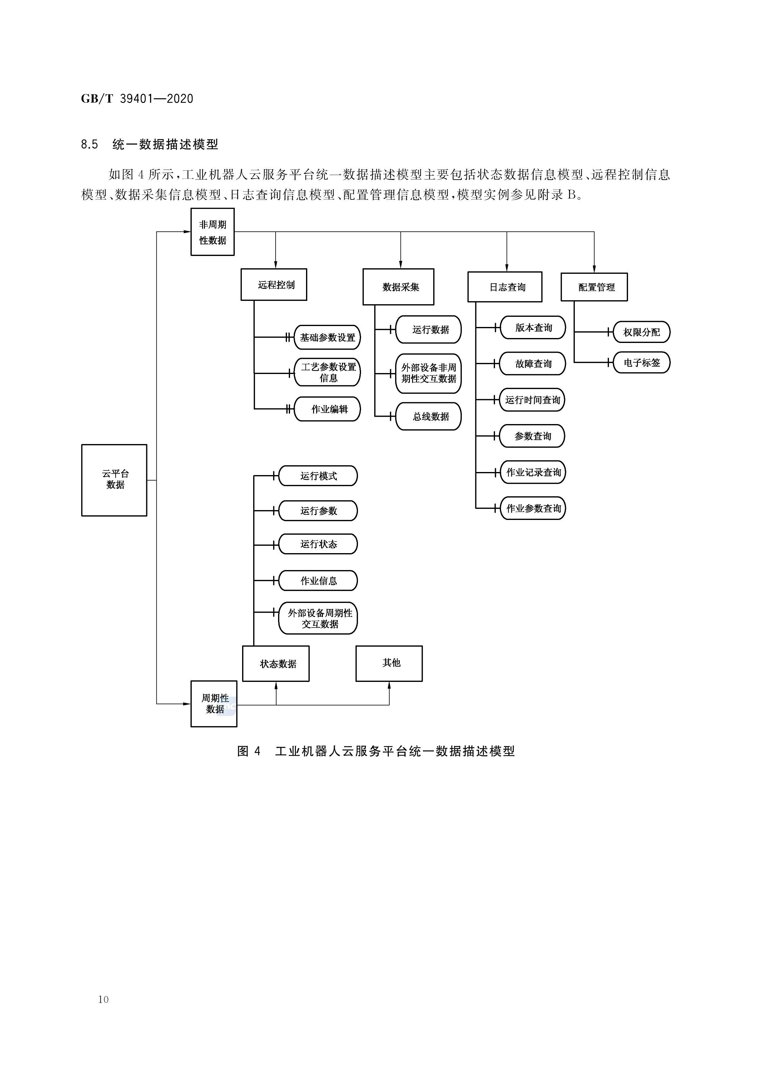
工业机器人云服务平台数据交换
图片尺寸2480x3508
某政策性银行建设了全行级数据交换平台,该平台利用数据总线架构模式
图片尺寸1407x983
万兆以太网交换机,其传输速度高达10gbps,专为高性能计算和大型数据
图片尺寸1080x681
轻量级企业私有云:开启企业上云的"轻"时代
图片尺寸5120x2880
跨网文件安全交换管理系统 搭建数据摆渡智能通道
图片尺寸1621x898
新一代数据中心网络高密框式核心交换机,支持100g/400g线卡,16业务
图片尺寸2426x2042
平台总体架构图如下:其数据交换平台集数据交换任务管理,数据传输与
图片尺寸1407x983
大数据平台架构
图片尺寸1102x1168
系统架构灵活交换驱动模式支持多种交换场景数据传输安全可靠
图片尺寸1173x691
如何构建跨多个数据中心的高可用架构
图片尺寸1242x999
400g ai roce数据中心网络
图片尺寸2400x1340
过去,企业在建设数据平台时通常使用传统的hadoop湖 mpp仓的混合架构
图片尺寸2666x1339
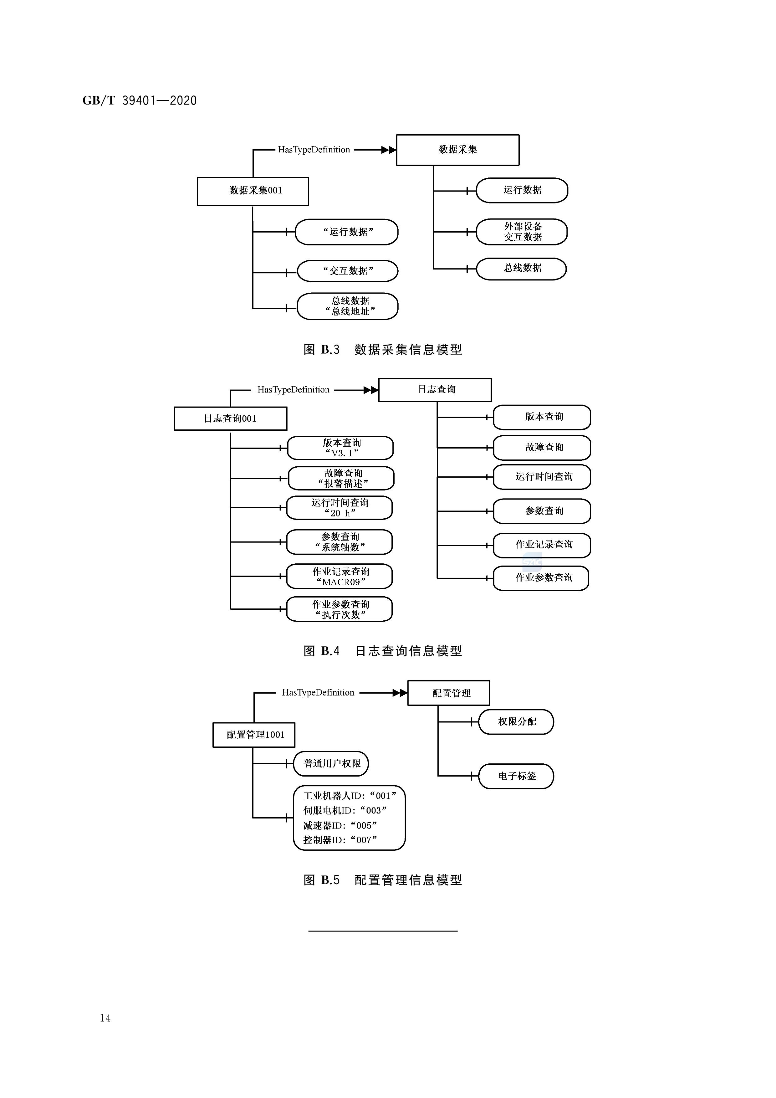
工业机器人云服务平台数据交换
图片尺寸2480x3508
在典型的企业网络中,我们常把交换机分为三层架构:核心层
图片尺寸1210x602
大对数数字程控交换机传统通信语音建网拓扑架构
图片尺寸1395x778
:软件架构在工业物联网中的应用
图片尺寸1242x1078