整体道床结构

整体式道床
图片尺寸1001x688
整体道床
图片尺寸562x493
整体道床
图片尺寸576x202
61道床是指路基之上,轨枕之下的部分.1.概念:线路轨道(四)
图片尺寸980x504
整体道床
图片尺寸500x327
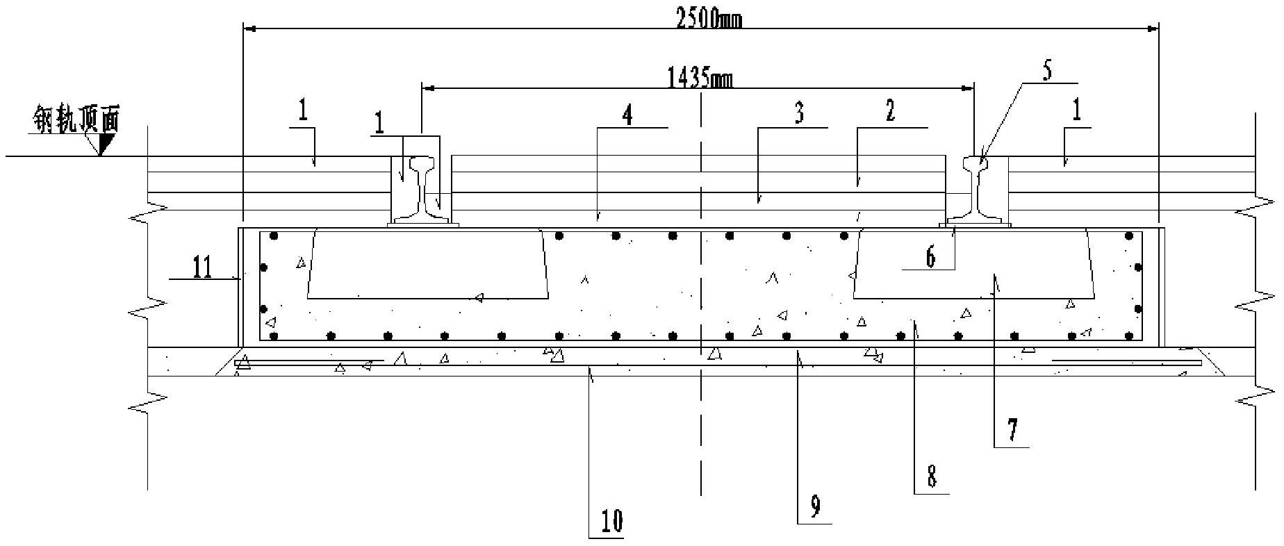
一种市政区域内的铁路整体道床结构
图片尺寸1848x786
浮置板整体道床构造模型及施工工艺
图片尺寸2598x1299
混凝土短轨枕式整体道床施工工艺及其改进
图片尺寸434x461
一次性浇筑地铁长轨枕双侧沟式整体道床技术应用
图片尺寸1496x2019
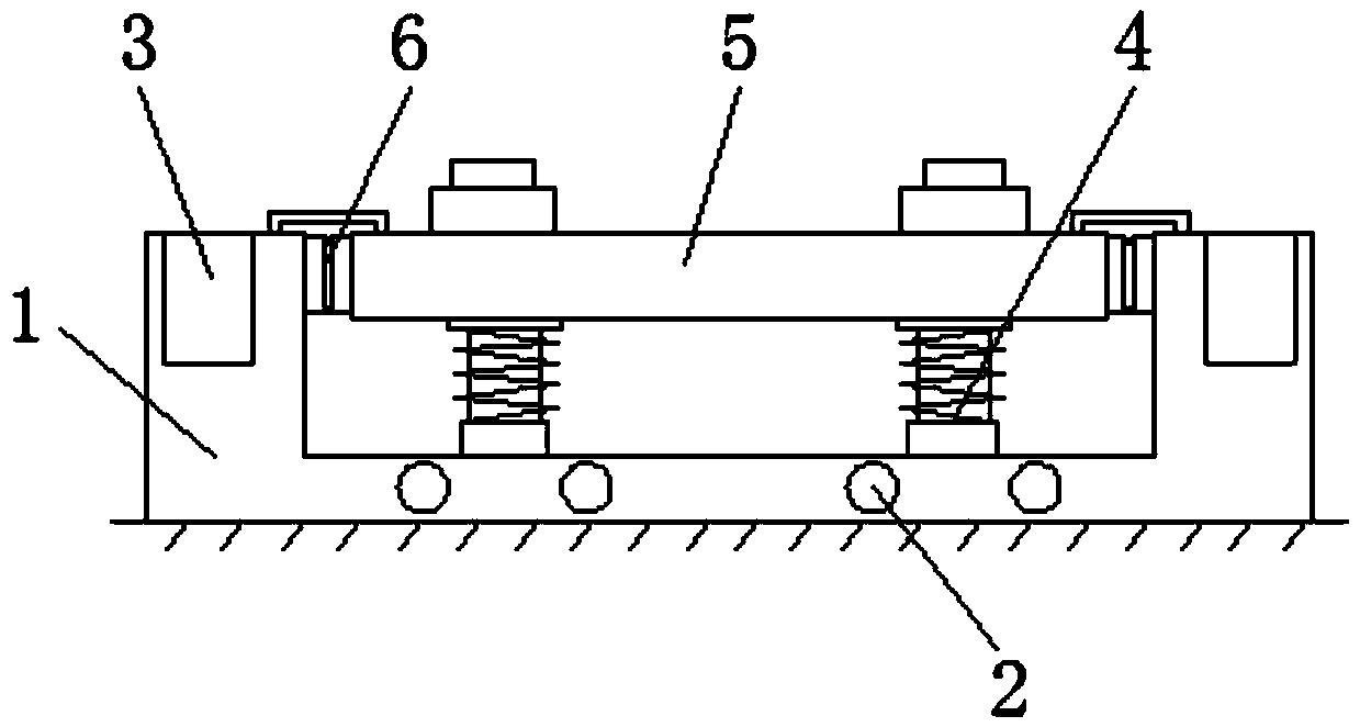
钢弹簧浮置板道床示意图
图片尺寸800x443
整体道床
图片尺寸546x203
9号道岔整体道床主要尺寸布置图
图片尺寸920x651
整体道床.jpg
图片尺寸760x571
整体道床
图片尺寸468x196
混凝土短轨枕式整体道床施工工艺及其改进
图片尺寸439x688
整体道床
图片尺寸502x184
整体道床主体结构修筑于坚硬围岩隧道内的支承块侧沟式整体道床的结构
图片尺寸250x121
一种对接型浮置道床-爱企查
图片尺寸1239x662
一种适用于铁路隧道减震降噪的组合预制道床
图片尺寸443x278
有足够弹性及稳定性的道床,采用可动心轨或可动翼轨结构的大号道岔等
图片尺寸586x220