料仓的组成图

cn213386682u_一种抽屉式料仓有效
图片尺寸2232x1747
立式混料仓剖视图图纸参数图纸id: 1024235图纸格式
图片尺寸565x760
不锈钢周转料仓方形
图片尺寸750x900
一种煤粉储料仓
图片尺寸1711x1978
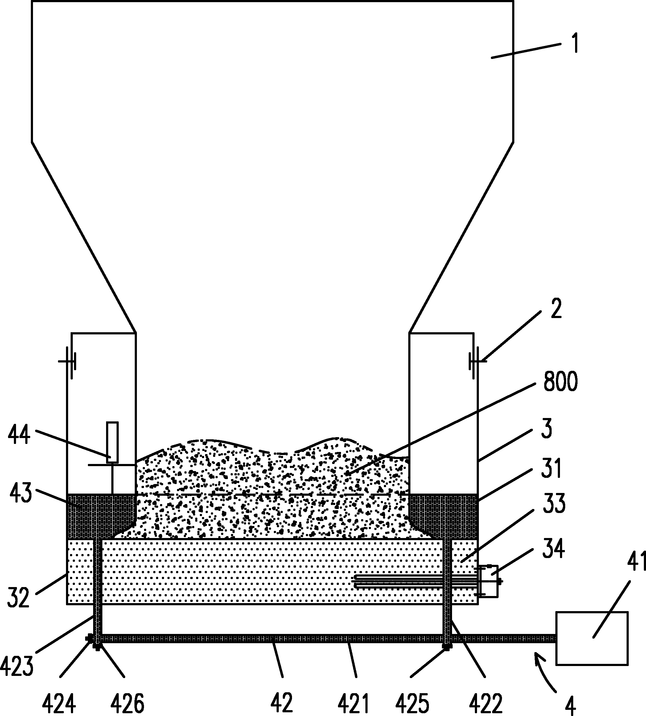
摘要附图摘要本实用新型涉及一种掺混料仓,包括上部
图片尺寸1456x1527
100t料仓图
图片尺寸560x420
一种双向抽屉式料仓的制作方法
图片尺寸355x443
一种能够均匀进料的防爆粉料仓专利_专利申请于2020
图片尺寸1625x2409
2,料仓具有料盘自动切换功能,当一盘料加工完成后
图片尺寸770x382
一种氯化胆碱晶体生产专用高位包装料仓
图片尺寸1310x1915
摘要附图摘要本实用新型公开了一种双层料盘式料仓
图片尺寸1447x1303
商标logo
图片尺寸553x800
一种沥青混凝土成品料仓专利_专利申请于2012-04-24
图片尺寸2095x2321
一种快速下料料仓-爱企查
图片尺寸563x800
100吨料仓设计图
图片尺寸1200x900
摘要附图摘要本发明公开了一种全自动柜式料仓,包括
图片尺寸1101x2487
稀浆封层车料仓的制作方法
图片尺寸564x420
包装储藏运输设备的制造及其应用技术
图片尺寸878x1000
一种混凝土粉料仓的制作方法
图片尺寸1000x724
一种石灰粉搅拌料仓制造技术
图片尺寸890x1000