料仓防堵装置

物流防堵器 kqp-b-50料仓清堵器 煤仓破拱器 用于物料清堵-搜了网
图片尺寸460x460
空气炮工业煤仓料仓kqp-b清堵器搅拌站气动破拱器100l防爆助流器
图片尺寸990x990
物流防堵器 kqp-b-50料仓清堵器 煤仓破拱器 用于物料清堵-搜了网
图片尺寸460x460
75l破拱器 kqp-b-75料仓清堵器 水泥厂防堵仓器 破除料仓清堵器
图片尺寸750x750
长治免粘壁清堵装置-免粘壁清堵装置原理-洛阳广盈机械
图片尺寸501x759
鞍山料仓口防堵机-洛阳广盈机械-料仓口防堵机价格
图片尺寸800x1066
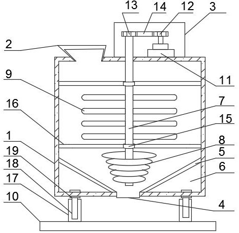
一种防堵塞料仓
图片尺寸470x459
极速猫(jisumao)料仓防堵电磁仓壁振动器振动电机振动力cz型细料粉料
图片尺寸800x800
kqp-50l空气炮 水泥厂料仓清堵器 旋风离器出料仓破拱器 矿用防爆
图片尺寸800x800
空气炮清堵器工业料仓破拱器电磁阀空气助流装置100l
图片尺寸700x700
100l空气炮 建筑料仓空气清堵器 供应电厂下料仓助流破拱设备
图片尺寸750x750
料仓防堵料的振动活化料斗
图片尺寸640x1138
料仓破拱料斗百恩特粉料仓防堵破拱器
图片尺寸750x750
污泥料仓堵料怎么解决?
图片尺寸640x452
kqp-b-200l料仓清堵器 煤仓空气助流器防堵仓 粘仓 - 机械工业 - 行情
图片尺寸750x750
一种新型循环流化床返料防堵装置及其使用方法
图片尺寸1843x2273
空气炮破拱器料仓清堵器矿用空气炮300l
图片尺寸460x613
料仓清堵器kqp500空气炮整机配件都齐全
图片尺寸600x600
供应防闭塞装置,lzfzfb料仓防堵器,仓壁振动器,振打器
图片尺寸320x240
低耗铜线包仓壁振动器 除尘灰斗 料仓防堵
图片尺寸750x750