料斗设计

摘要附图摘要1.本外观设计产品的名称:抑尘料斗. 2.
图片尺寸647x799
首页 设计图库 料斗设计图库目录 用手机查看 分享 0 0 0 0 0/150
图片尺寸530x381
solidworks料斗图纸下载_solidworks免费图纸,设计模型大全 - 沐风网
图片尺寸285x366
钢结构进料斗设计
图片尺寸526x559
小袋无尘投料站,料斗结构设计,投料无粉尘.小袋无尘投料站,全 - 抖音
图片尺寸1440x1920
料斗.dwg
图片尺寸1200x800
一种方形下料斗-爱企查
图片尺寸1232x1427
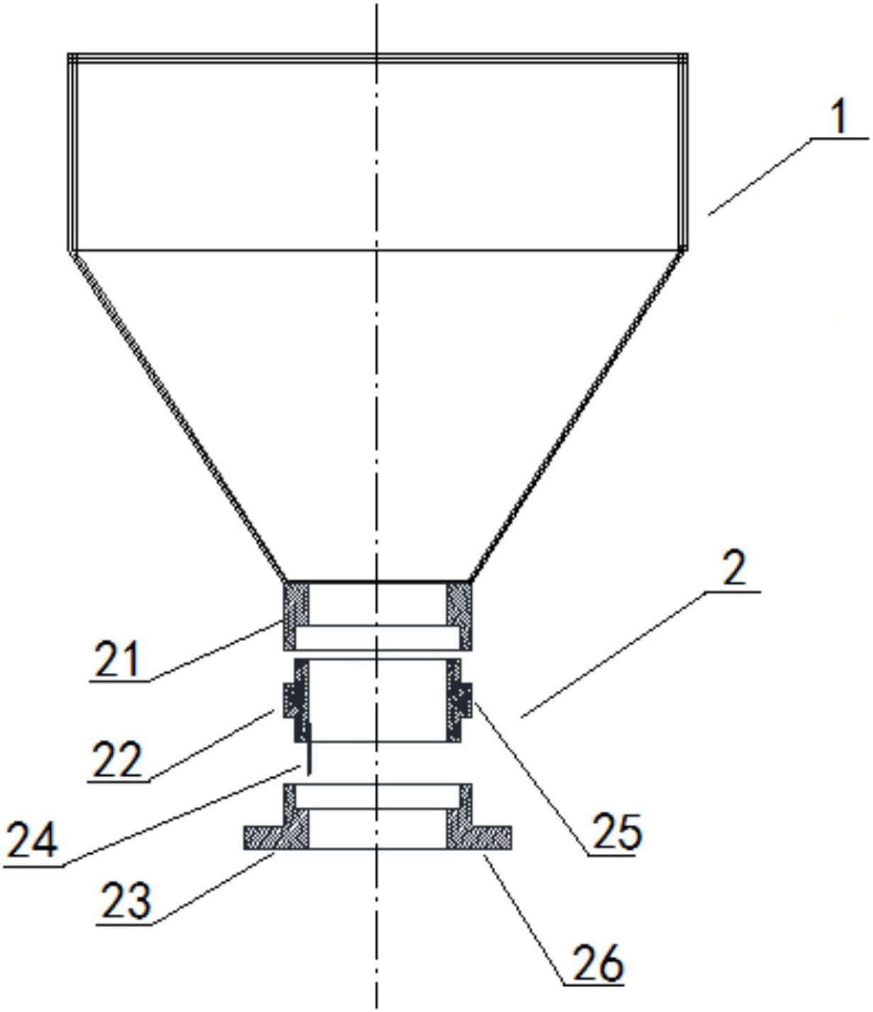
一种用于高效垃圾焚烧的给料斗
图片尺寸1973x1779
料斗图纸下载_料斗免费图纸,设计模型大全 - 沐风网
图片尺寸285x268
一种机械化养鸡设备喂料料斗-爱企查
图片尺寸1595x1959
一种用于皮带输送机的料斗装置
图片尺寸1973x1398
料斗图纸下载_料斗免费图纸,设计模型大全 - 沐风网
图片尺寸285x264
料斗图纸下载_料斗免费图纸,设计模型大全 - 沐风网
图片尺寸285x289
混凝土料斗设计模型图纸合集的封面图
图片尺寸285x223
本外观设计产品的名称:搅拌车进料斗.2.
图片尺寸1047x975
solidedge料斗图纸下载_solidedge免费图纸,设计模型大全 - 沐风网
图片尺寸285x235
料斗设计
图片尺寸604x445
工程混凝土料斗
图片尺寸782x617
ug料斗图纸下载_ug免费图纸,设计模型大全 - 沐风网
图片尺寸285x263
ug料斗图纸下载_ug免费图纸,设计模型大全 - 沐风网
图片尺寸285x230