斜剖视图

请选择正确的斜剖视图
图片尺寸435x485
已知主俯视图选择正确的ee斜剖视图
图片尺寸761x454
选择正确的斜剖视图
图片尺寸427x569
剖视图的定义及画法ppt
图片尺寸1080x810
斜视图
图片尺寸825x324
剖视图
图片尺寸867x939
斜剖视图的画法与标注
图片尺寸255x285
solidworks斜剖视图问题
图片尺寸916x601
2根据立体图和给出视图用单一剖切斜剖剖方式绘制aa斜剖视图
图片尺寸642x368
在下图中用斜剖所作的aa剖视图是正确的图
图片尺寸520x349
第五节 斜截面受弯破坏
图片尺寸1080x810
网课(湖南政工)入党发展对象基础知识答案共享 - 泉州蜂窝斜管 - 百业
图片尺寸1088x552
机械制图剖视图注意事项
图片尺寸345x277
中高级机械类试题
图片尺寸316x375
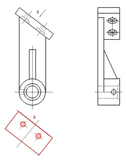
图2.27 斜剖视图(a)零件实体的斜剖示意图(b)斜剖视图5.
图片尺寸450x680
画出a方向的斜视图图
图片尺寸794x578![已知主,俯视图,选择正确的全剖视图(). [图] [图]a,ab.](https://i.ecywang.com/upload/1/img2.baidu.com/it/u=27409931,327892875&fm=253&fmt=auto&app=138&f=JPG?w=367&h=224)
已知主,俯视图,选择正确的全剖视图(). [图] [图]a,ab.
图片尺寸367x224
7斜方向的斜顶如何做剖视图
图片尺寸1356x904
剖视图
图片尺寸1380x633
solidworks斜剖视图问题
图片尺寸551x346