斜支撑结构

预制墙施工用斜撑结构
图片尺寸1788x1406
新型公开了一种便于调节的围栏斜撑,包括:围栏立柱,斜支撑件和安装座
图片尺寸1170x1031
浅基坑支护里的斜柱支撑,求解释一下
图片尺寸559x361
旨在现有技术中的支撑体系,存在使用不便或结构复杂的问题,提供斜支撑
图片尺寸1672x1963
包括悬挑主梁,第一斜支撑杆件和第二斜支撑杆件,悬挑主梁与结构梁板
图片尺寸1000x966
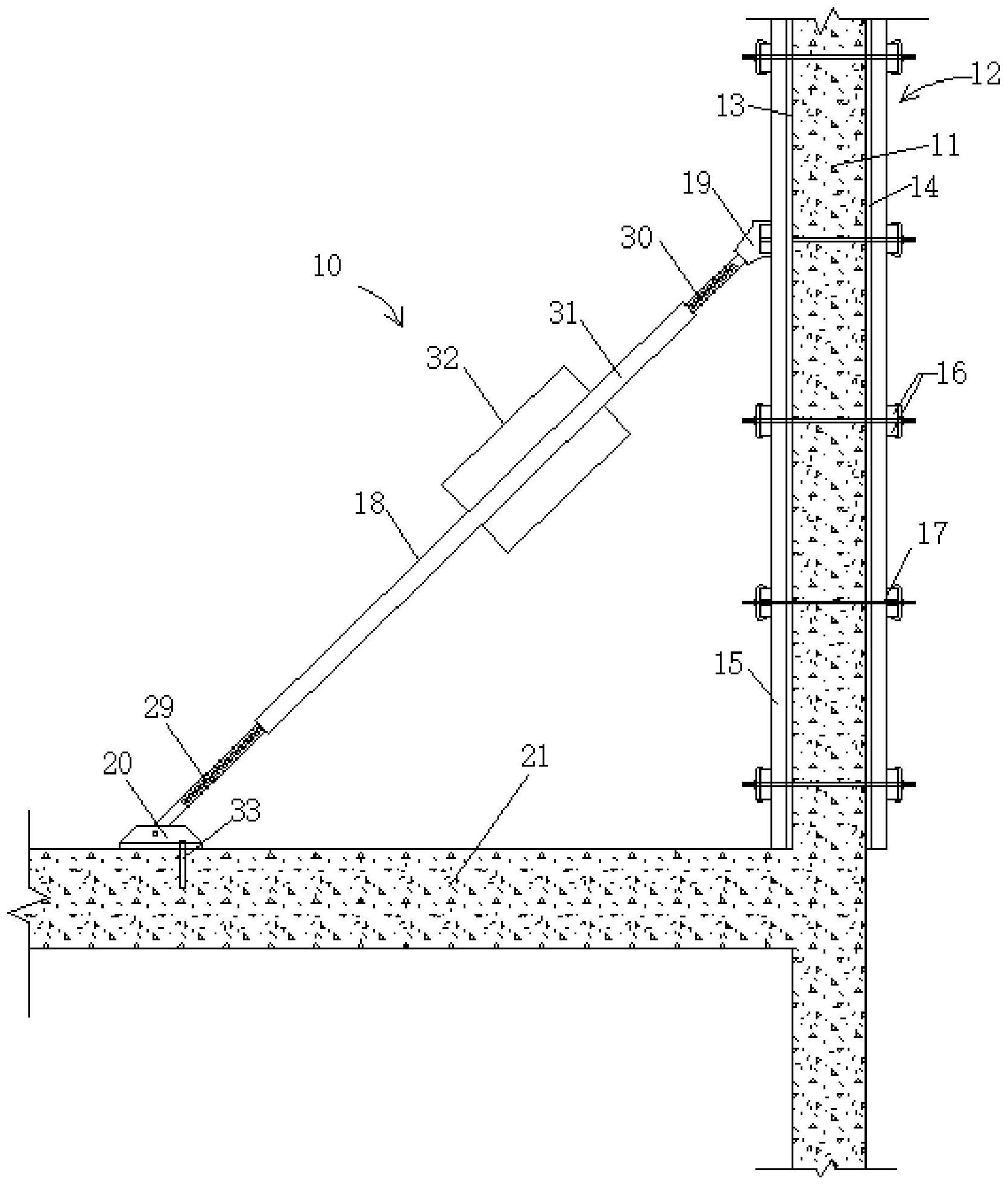
一种竖向预制构件的斜支撑体系
图片尺寸1539x1849
斜撑主要在预制墙板的安装过程中对预制墙板起到良好的支撑和固定作用
图片尺寸864x1000![[福建]城市轨道交通土建工程施工组织设计359页(车站主体结构 明挖](https://i.ecywang.com/upload/1/img0.baidu.com/it/u=3084213942,1841931214&fm=253&fmt=auto&app=138&f=JPEG?w=500&h=218)
[福建]城市轨道交通土建工程施工组织设计359页(车站主体结构 明挖
图片尺寸560x244
一种用于建筑施工的建筑斜支撑结构
图片尺寸1592x1531
一种稳固型脚手架用的斜支撑结构的制作方法
图片尺寸345x293
一种用于悬挑板的y形斜撑支撑体系
图片尺寸443x335
用于k板的斜撑结构的制作方法
图片尺寸1000x805
地铁主体结构施工作业指导书(含图)
图片尺寸633x484
一种用于柱帽斜面的支撑装置
图片尺寸1728x1599
一种脚手架的斜支撑结构的制作方法
图片尺寸561x563
独家设计,技术领先 自有工厂,产销一体 严苛品质,出厂价格 结构简单
图片尺寸2955x1987
一种用于柱帽斜面的支撑装置的制作方法
图片尺寸1000x924
铝模斜撑加固结构
图片尺寸1895x2082
背景技术:在现浇混凝土结构施工过程中,墙体模板体系质量控制环节中一
图片尺寸1000x824
【装配式】装配式斜支撑节点钢框架结构技术规程
图片尺寸900x519