斧头图纸

斧头德款户外斧子木工砍伐家用剁骨野营处理品工兵斧
图片尺寸750x375
三把斧头,180的破甲锥歪了,往右边来点会好看些.
图片尺寸1152x1536
本发明属于斧头技术领域,尤其涉及一种具有防卡功能的斧子.
图片尺寸802x347
catia怎么画斧头啊 用哪几个命令
图片尺寸642x395
本发明属于斧头技术领域,尤其涉及一种防卡式斧子.
图片尺寸816x418
【题目】斧头(国庆送礼 1)
图片尺寸1654x1169
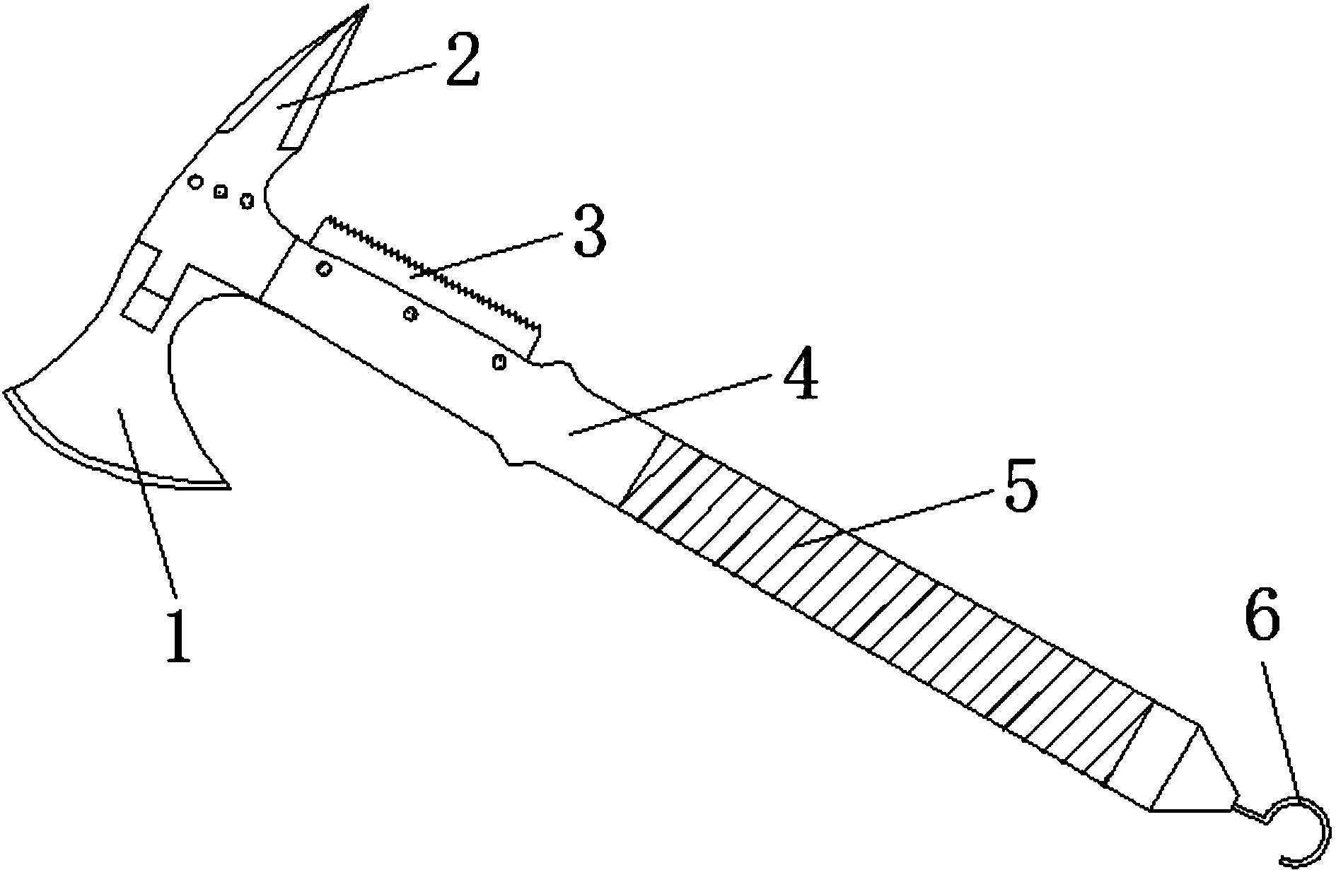
一种便于拆装更换的消防斧
图片尺寸1889x1231
【题目】斧头(国庆送礼 1)
图片尺寸2000x1463
破衣玩catia斧头,建议板主加分.
图片尺寸967x799
多功能迷你小斧头.图纸画了,就等材料,图纸需要的下
图片尺寸758x441
cf吃鸡斧头 - 手动工具图纸 - 沐风网
图片尺寸687x468
战斧 超级斧头图纸下载中磊教育
图片尺寸700x511
斧头的制作方法
图片尺寸1000x390
游戏白模斧头的尝试
图片尺寸1280x720
帅气的斧头 - 玩具公仔图纸 - 沐风网
图片尺寸272x725
cdr(x5)颜色:cmyk10共享分举报收藏立即下载×关 键 词:斧子 斧头 简
图片尺寸1024x787
精雕图jdp bmp镇宅斧头带线
图片尺寸300x300
斧头1
图片尺寸1280x720
斧子图纸
图片尺寸285x329
帅气的斧头 - 玩具公仔图纸 - 沐风网
图片尺寸418x764