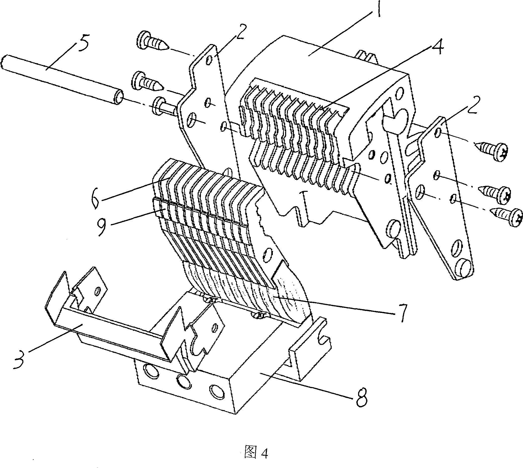
断路器动触头

断路器的动触头-爱企查
图片尺寸2457x1847
vs1断路器用动触头gc51600a36片捆绑式梅花触头隔离手车触头
图片尺寸800x800
崇山1250a梅花触头高压开关柜真空断路器配套动触头t2紫铜镀银30
图片尺寸350x350
断路器的动触头
图片尺寸2080x1859
一次隔离动触头jyn2-10kv/400a鸭嘴式扁触头
图片尺寸800x800
原装西门子电动机三相断路器辅助触头3rv6901-1e -1a马达保护开关触点
图片尺寸750x750
t2紫铜高压梅花触头1250a 30片中置柜高压断路器动触头
图片尺寸750x750
vd4开关触头 abb电工仪表断路器动触头
图片尺寸4608x3456
坤溥电气手车式梅花动触头紫铜镀银弹簧捆绑式设计真空断路器触头
图片尺寸1706x1279
隔离开关动静触头35kv一对
图片尺寸800x702
sn10-1000a少油断路器动静触头上海五久 价格 厂家 参数 说明
图片尺寸652x509
vs1 zn63断路器动触头gc5-3150 2000 1250 630a/64片梅花触头包邮
图片尺寸800x800
2000a捆绑式梅花触头gc52000a48片弹簧式真空断路器动触头
图片尺寸750x750
坤溥电气手车式梅花动触头紫铜镀银弹簧捆绑式设计真空断路器触头
图片尺寸800x800
施耐德宝光真空断路器主触头
图片尺寸800x600
正泰电动机起动辅助触头ns2-ae11瞬时触点ns2-25au11低压断路器
图片尺寸800x800
梅花触头630a1250a2000a弹簧捆绑式pt手车式断路器动触头紫铜镀银
图片尺寸700x700
国内好点的加速器安卓版v加速器
图片尺寸400x400
万能式智能断路器配件dw452000a桥型触头触点触头总成
图片尺寸600x596
户外电站隔离开关35kv动静触头维修用
图片尺寸600x738