方管框架结构

一种可拆装的方形纸管箱体框架结构
图片尺寸1535x1315
带耗能钢板的自复位方钢管混凝土框架抗震性
图片尺寸476x335
一种方管全钢脚手架,由框架,防护网,附墙支架和提升装置组成,所述框架
图片尺寸575x686
一种高结构稳固性方钢管桁架
图片尺寸1729x1333
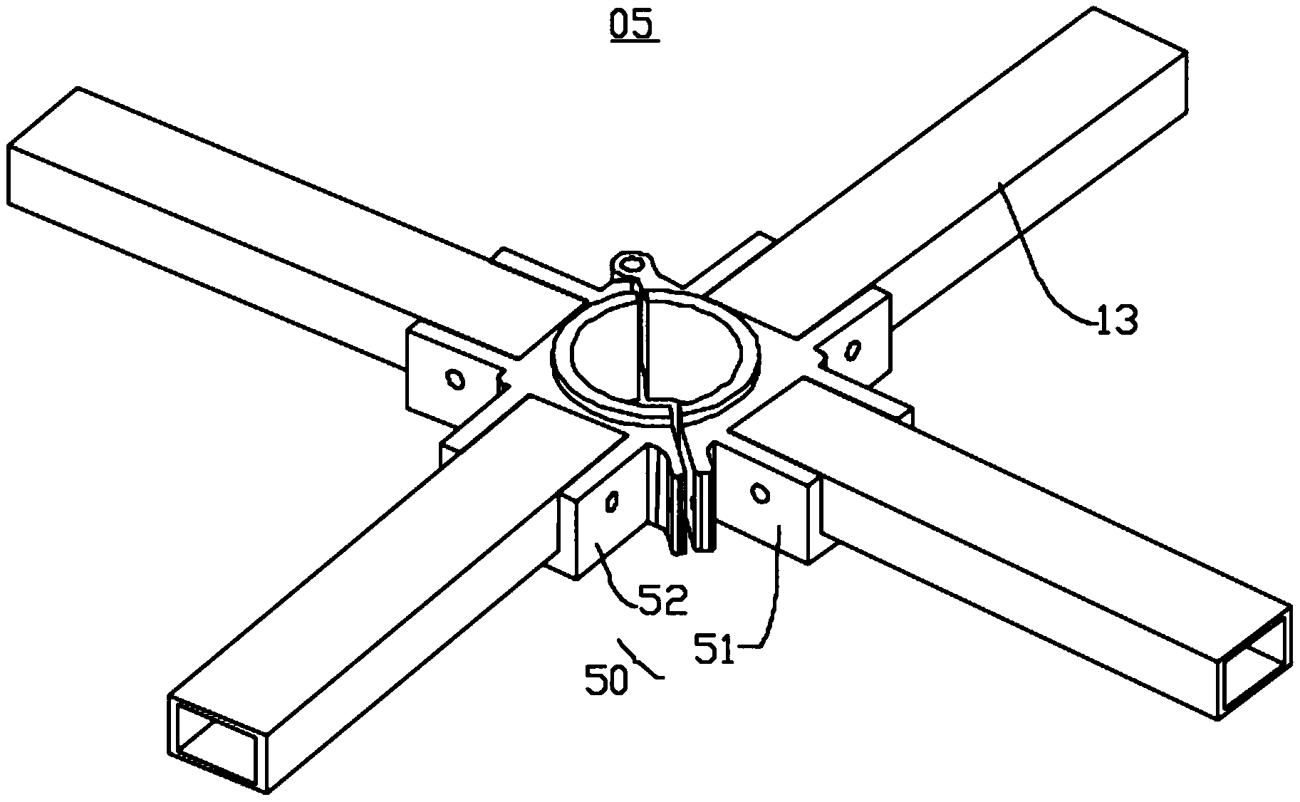
一种可快速装拆的方管框架结构的制作方法
图片尺寸358x443
铝型材2020a 型材支架框架 铝合金方管 欧标支架 框架型材
图片尺寸790x1235
方管或者h钢框架结构轻钢龙骨以及木结构做的复合结构别墅
图片尺寸2048x1536
钢构阳光房也可以高大上
图片尺寸1080x540
方管或者h钢框架结构轻钢龙骨以及木结构做的复合结构别墅
图片尺寸2048x1536
方管或者h钢框架结构轻钢龙骨以及木结构做的复合结构别墅
图片尺寸2048x1536
绝缘方管 耐高温绝缘材料 新型芳玻复合绝缘制品 绝缘管
图片尺寸750x495
甚至冷弯型的方管建筑构件,组织拼单构成的框架体系这种框架体系
图片尺寸800x600
厂家直销 舞台桁架 热镀锌方管桁架 桁架厂家 雷亚舞台桁架批发
图片尺寸579x497
本发明涉及钢结构技术领域,特别涉及一种h型钢与方管装配式节点及施工
图片尺寸1000x903
铝方管幕墙安装方法
图片尺寸750x412
一种方管脚手架接头及方管脚手架
图片尺寸1825x1126
制作钢结构框架楼钢结构框架楼聚鑫钢结构查看
图片尺寸400x400
方管或者h钢框架结构轻钢龙骨以及木结构做的复合结构别墅
图片尺寸2048x1536
一种电梯井分节处方管连接结构
图片尺寸1273x1515
三沙钢结构方管拉弯 q235粤重钢铁钢结构别墅
图片尺寸750x750