施夹器

昆明医疗器械维修工程师彼岸bien air 1600768医用动力系统附件故障
图片尺寸700x525
liga-当然施夹器腹腔镜不锈钢夹子涂抹器
图片尺寸1000x1000
内窥镜可再用手术施夹器
图片尺寸2931x1794
美国强生ethicon连发施夹器el5mler320er420
图片尺寸443x356
金钟n20400式钳锁扣夹钳施夹钳指圈银夹钛夹器械其它工具
图片尺寸1500x1000
美国泰利福teleflex可重复使用施夹钳544121
图片尺寸1920x1440
美国强生施夹钳腔内连发施夹器el5ml
图片尺寸1000x618
美国强生ethicon连发施夹器和钉夹er320连发施夹器
图片尺寸1000x664
施夹器 施夹钳 塑料夹钳 钛夹钳 - 南昌雪力科技有限公司 专营微创
图片尺寸700x528
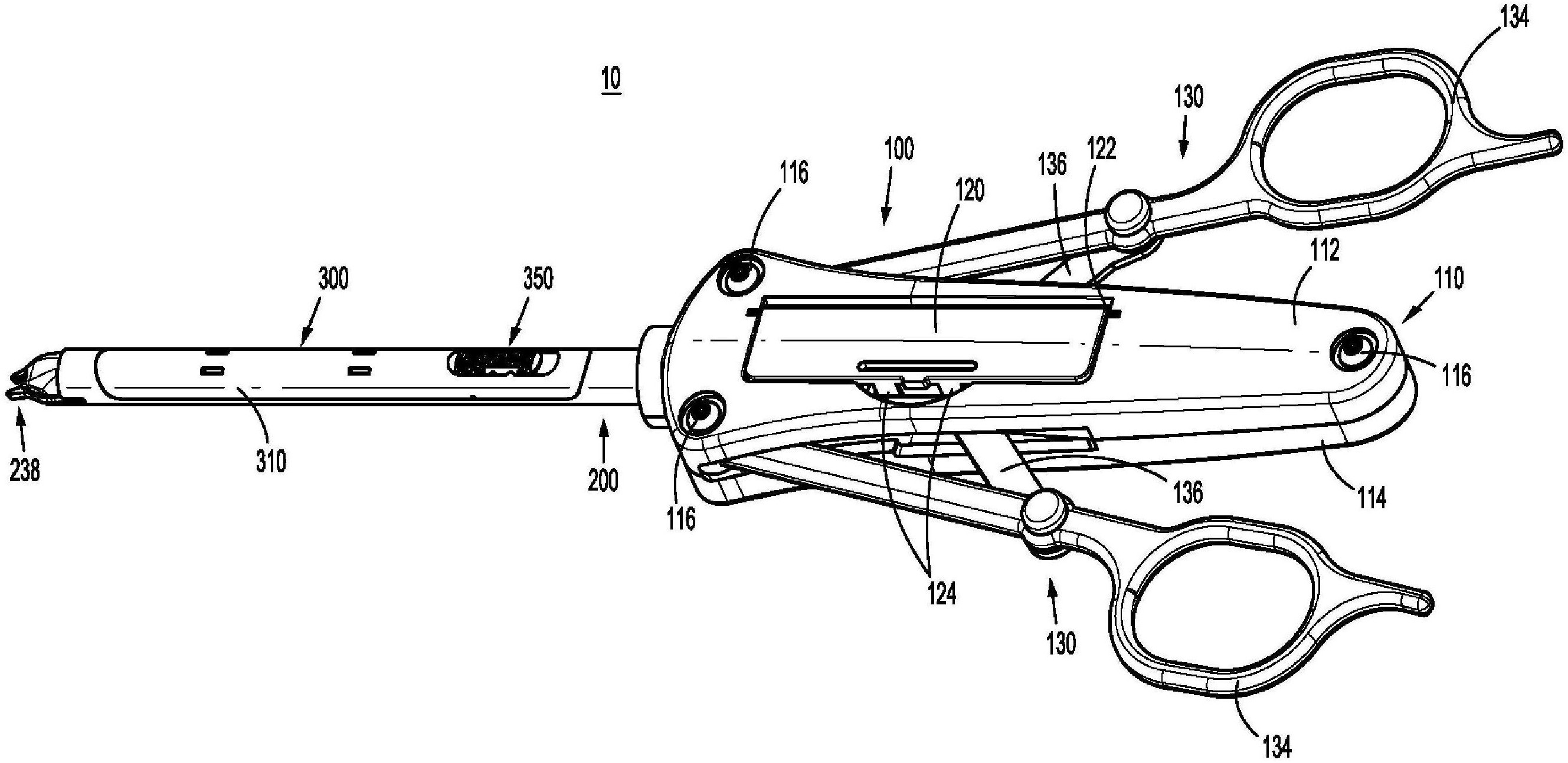
cn102166129a_关节式运动内窥镜外科施夹器有效
图片尺寸2116x1624
生物夹钳-钛夹_美国威克weck钛夹钳_hem-o-lok施夹钳_强生ethicon钛夹
图片尺寸920x920
施夹钳 内窥镜用施夹钳 horizon系列施夹钳 美国泰利福teleflex
图片尺寸1000x750
内窥镜手术施夹器
图片尺寸2602x1662
奥芮济施夹钳
图片尺寸600x600
厂家直销 施夹器 腹腔镜手术器械 双动单动施夹钳销售
图片尺寸986x790
【塑料钛夹】塑料钛夹厂家-品牌-招商信息-东方医疗器械网
图片尺寸600x450
可重复使用的多发射外科手术施夹器
图片尺寸2657x1294
连发施夹器钉夹 强生连发施夹器钉夹
图片尺寸1000x664
金钟n20400式钳锁扣夹钳施夹钳指圈银夹钛夹器械其它工具
图片尺寸750x500
施夹器钉夹 强生进口钉夹lt400
图片尺寸1000x664