旁通阀结构

智造概论小松pc挖掘机ls旁通阀构造原理的简要概述
图片尺寸2160x3120
丹佛斯 danfoss kvc15 能量调节器/热气旁通阀
图片尺寸708x407
800x压差旁通平衡阀工作原理使用说明安装调试
图片尺寸610x350
它解决了现有用于涡轮增压器的旁通阀结构复杂,安装麻烦以及体积大的
图片尺寸1000x916
800x压差旁通阀结构图
图片尺寸700x397
800x压差旁通阀结构图安装示意图
图片尺寸600x220
制冷暖通 | 空调系统旁通阀的工作原理
图片尺寸997x477
图3-33是zzrp-32型自动旁通阀结构图.
图片尺寸493x602
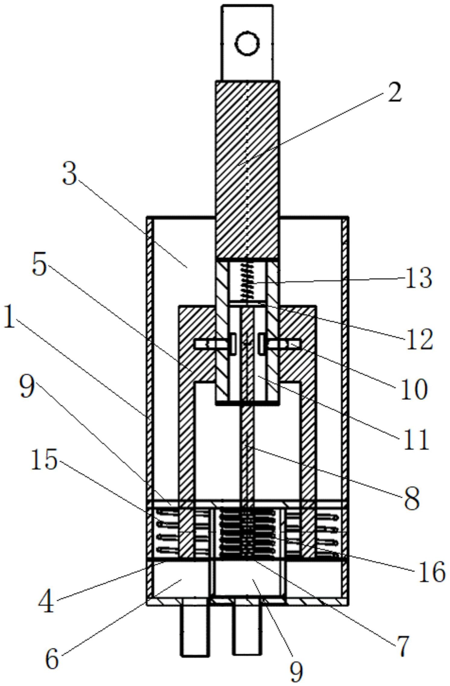
一种旁通阀总成涡轮增压器及车辆
图片尺寸1490x2267
压差旁通阀|800x|平衡压差|降低系统的噪音
图片尺寸510x479
cpce, 能量调节阀, 热气旁通(通过lg气液混合器)
图片尺寸1767x3280
800x压差旁通阀
图片尺寸281x288
电动压差旁通阀组成及安装图纸
图片尺寸700x719
cn213361501u_一种旁通阀排气装置
图片尺寸1406x1425
进口压差旁通阀结构图
图片尺寸400x330
一种新型机油通道旁通阀结构-爱企查
图片尺寸1554x2369
800x型压差旁通平衡阀
图片尺寸431x405
800x压差旁通平衡阀使用说安装说明工作原理
图片尺寸486x333
800x压差旁通阀
图片尺寸310x276
800x压差旁通平衡阀结构图.jpg
图片尺寸567x282