旋切模具设计

旋切模的结构图解,先搞懂原理再设计就简单了
图片尺寸1080x810
旋切模具的制作方法
图片尺寸444x369
旋切模具设计.jpg
图片尺寸618x500
异形旋切模结构拆解,一个视频彻底搞明白,领取其精髓没
图片尺寸1440x900
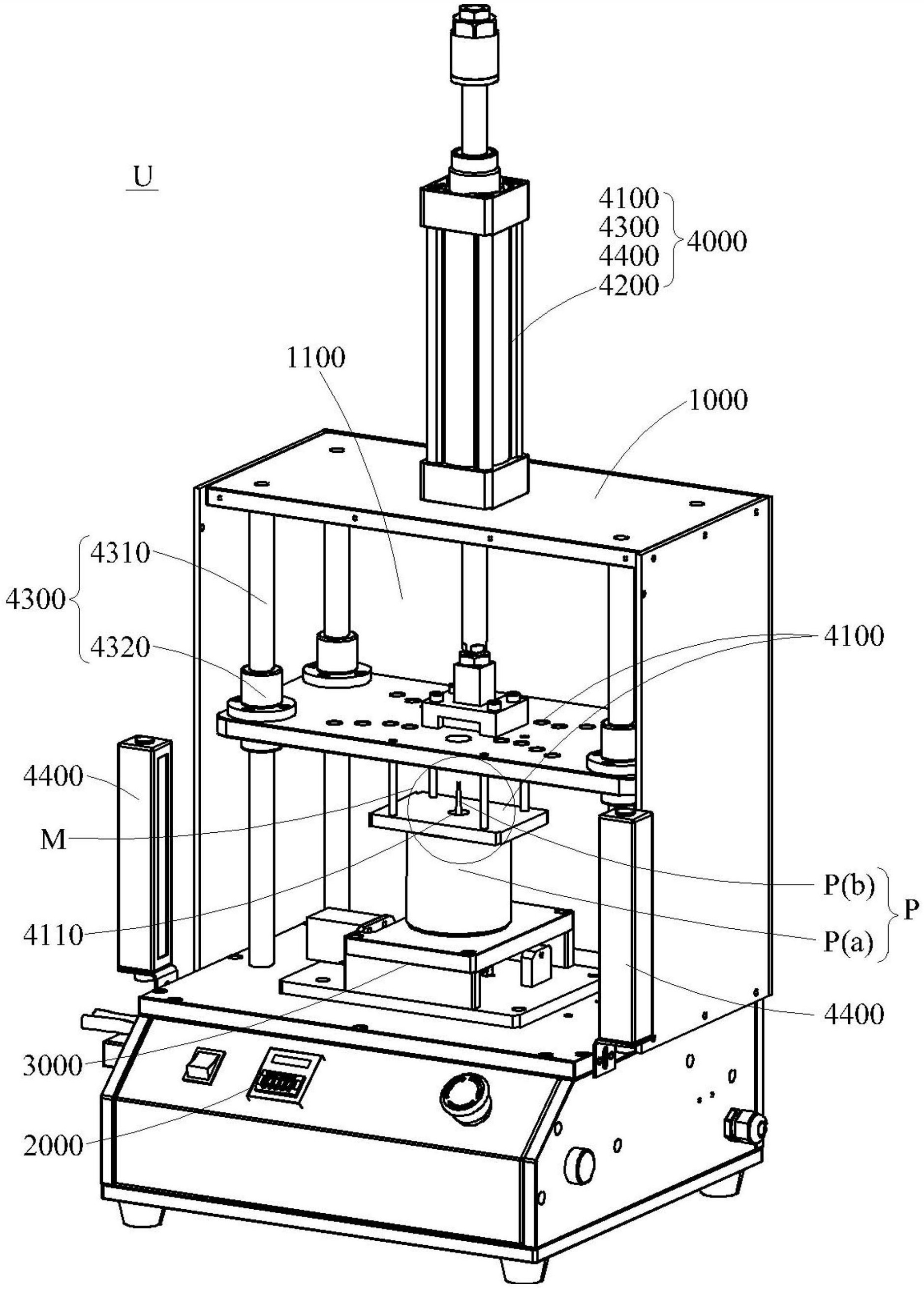
一种端锥旋切模具
图片尺寸1856x2093
圆管旋切模具结构!
图片尺寸1080x810
一种薄料端锥拉伸旋切复合模具-爱企查
图片尺寸1604x1529
异形拉伸旋切模结构复杂,普通设计师搞不定,一个视频彻底搞明白
图片尺寸1920x1200
水口旋切装置-爱企查
图片尺寸1878x2619
ug75旋切模全3d设计视频教程
图片尺寸600x450
ug75旋切模全3d设计视频教程
图片尺寸565x450
旋切模的制作方法
图片尺寸1005x1381
拉伸连续模具工艺里 旋切落料vs直接落料,哪种缺陷最多?有知道的吗?
图片尺寸1728x1080
一种五金件用连续拉伸旋切模具-爱企查
图片尺寸800x728
本实用新型涉及模具技术领域,尤其涉及一种新型端盖旋切模.
图片尺寸536x1000
旋切模运动原理
图片尺寸920x1303
一种旋转切模具制造技术
图片尺寸1000x767
一种旋切模具的制作方法
图片尺寸444x369
塑胶模具设计滑块旋转抽芯
图片尺寸1920x1080
筒形拉伸件旋切模设计
图片尺寸1404x2048